EasyManua.ls Logo

Panasonic FP0R - Page 140

Panasonic FP0R
348 pages
Print Icon
To Next Page IconTo Next Page
To Next Page IconTo Next Page
To Previous Page IconTo Previous Page
To Previous Page IconTo Previous Page
Loading...
7-56
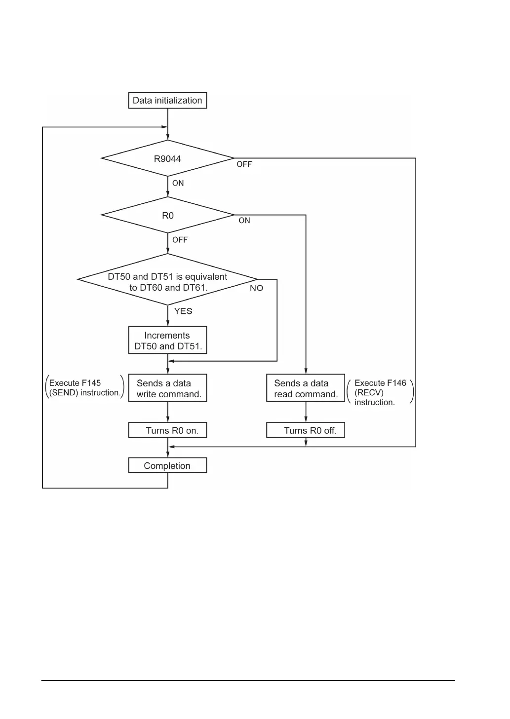
Flow chart (For Type II)
The above program executes the operation 1 to 3 repeatedly.
1. Updates the write data if the write data (DT50 and DT51) and the read data (DT60 and DT61) are
matched.
2. Writes the DT50 and DT51 of the local unit into the data No. H7788 in the unit number 07 from the
COM port.
3. Reads the data No. H7788 in the unit number 07 into the data DT60 and DT61 of the local unit from
the COM port.

Table of Contents

Related product manuals