EasyManua.ls Logo

Panasonic FP0R - When Using the Flat Type Mounting Plate (AFP0804)

Panasonic FP0R
348 pages
Print Icon
To Next Page IconTo Next Page
To Next Page IconTo Next Page
To Previous Page IconTo Previous Page
To Previous Page IconTo Previous Page
Loading...
5-5
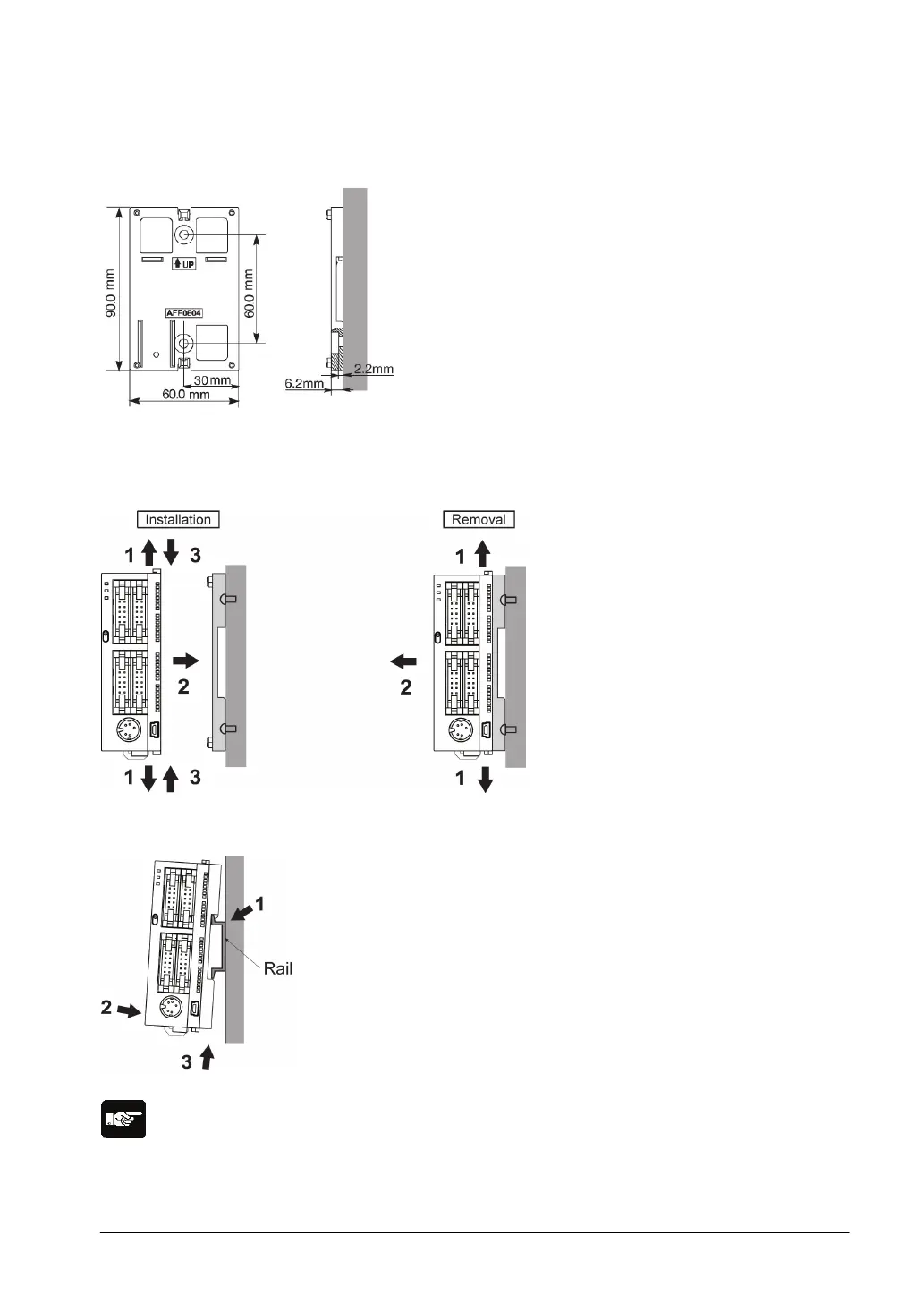
When using the flat type mounting plate (AFP0804)
Use M4 size pan-head screws for attachment of the mounting plate and install according to the
dimensions shown below.
Raise the expansion hooks of the unit. Align the expansion hooks with the mounting plate and press the
hooks.
An unit with an attached mounting plate can also be installed sideways on a DIN rail.
Note:
The flat type mounting plate (AFP0804) should be used only with the control unit as a stand-alone unit.
It should not be used when the unit is being used in combination with an FP0/FP0R expansion unit.

Table of Contents

Related product manuals