EasyManua.ls Logo

Panasonic FP0R - Sample Program JOG Operation: Type 1 (with Target Value)

Panasonic FP0R
348 pages
Print Icon
To Next Page IconTo Next Page
To Next Page IconTo Next Page
To Previous Page IconTo Previous Page
To Previous Page IconTo Previous Page
Loading...
8-32
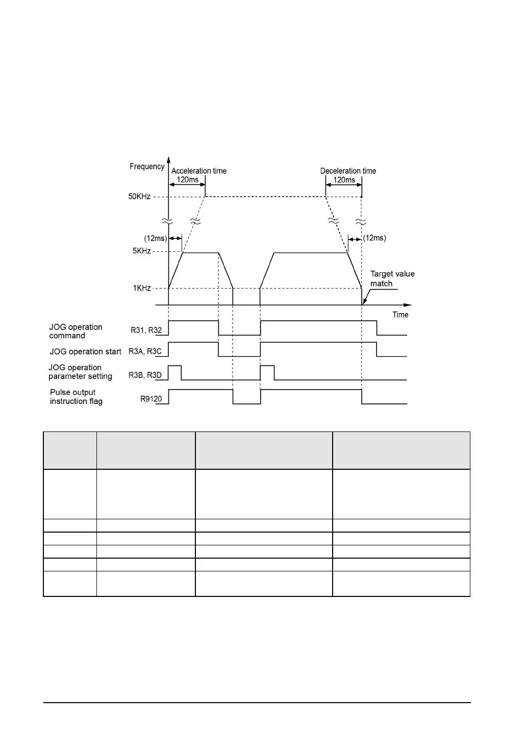
Sample program JOG operation: Type 1 (With target value)
- The explanation below shows the case that pulses are output from Y0 when using forward rotation and
Y1 when using reverse rotation with the following conditions; Initial speed: 1 kHz, Target speed: 5kHz,
Acceleration time: 120 ms, Deceleration time: 120 ms.
- When the elapsed value (absolute value) reaches K324000 (positive direction) and K-45600 (negative
direction), the deceleration stop is performed.
Timing chart
Data table
Data
register
No.
Setting item (Unit) Example of sample program Settable range
DT300 Control code
Type 1 (With target value)
Absolute
CW/CCW
H1001 0010
Set according to the control code
on the next page.
DT302 Initial speed (Hz) K1000 K1 to K50000
DT304
Target speed (Hz)
K5000
K1 to K50000
DT306
Acceleration time (ms)
K120
K1 to K32760
DT308 Deceleration time (ms) K120 K1 to K32760
DT310 Target value (pulses)
324000 (Positive direction)
K-45600 (Negative direction)
K-2,147,483,648 to
K+2,147,483,647
Note)
1.Each setting item occupies 2-word data registers.
2.When the control type 0 (No target value) is specified for the control code, the target value (pulse
number) of data table is invalid.
3.For the JOG operation, the time from the initial speed to the maximum speed (50 kHz) is specified as
acceleration time or deceleration time. For the details, refer to "8.4.17 Difference in
Acceleration/Deceleration Characteristics Between Instructions".

Table of Contents

Related product manuals