EasyManua.ls Logo

Ricoh D065 - Page 109

Ricoh D065
1351 pages
Print Icon
To Next Page IconTo Next Page
To Next Page IconTo Next Page
To Previous Page IconTo Previous Page
To Previous Page IconTo Previous Page
Loading...
2000/3000-sheet Finishers (D373/D374)
SM 2-61 D062/D063/D065/D066
Installation
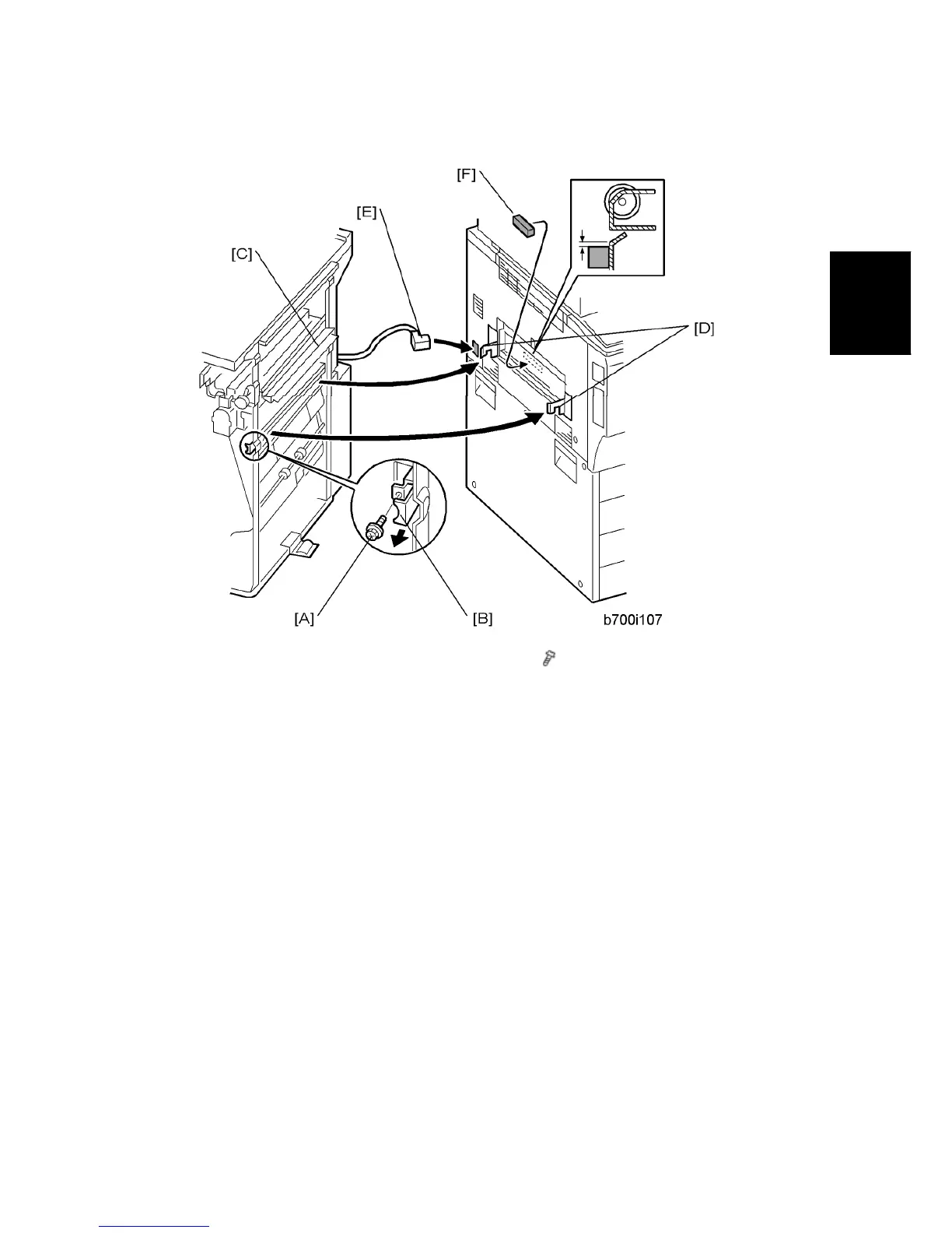
4. Remove the screw [A] to release the lock lever [B] ( x 1).
5. To avoid bending and damaging the paper entrance guide plates [C], slowly push the
finisher against the side of the machine until the brackets [D] enter their slots.
6. Connect connector [E] to the main frame.
7. Attach the gasket seal [F] as shown.
8. Push the finisher against the machine.
9. Push in lock lever [B] then reattach the screw [A].

Table of Contents

Related product manuals