EasyManua.ls Logo

Ricoh D065 - Duplex Entrance Sensor; Duplex Sensors; Jogger HP Sensor

Ricoh D065
1351 pages
Print Icon
To Next Page IconTo Next Page
To Next Page IconTo Next Page
To Previous Page IconTo Previous Page
To Previous Page IconTo Previous Page
Loading...
Duplex Unit
D062/D063/D065/D066 4-78 SM
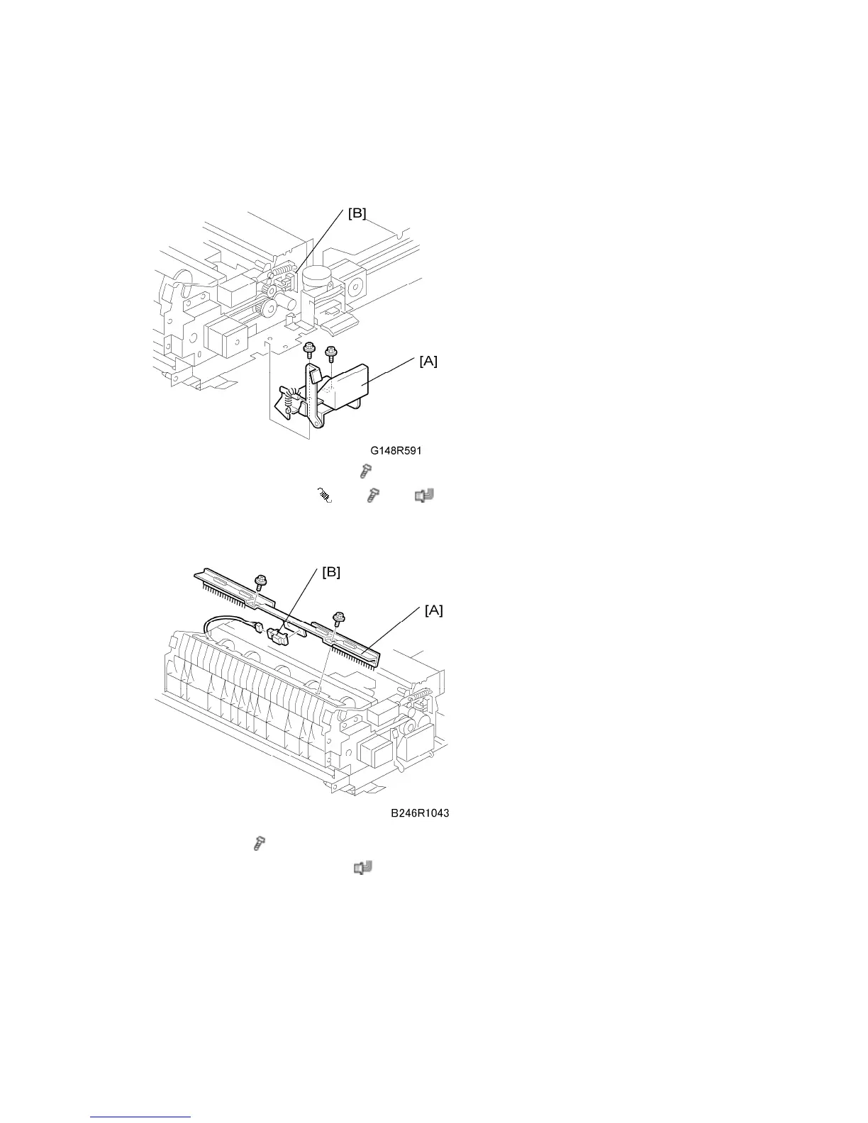
4.10.5 DUPLEX SENSORS
Jogger HP Sensor
1. Duplex unit release lever [A] (
x 2)
2. Jogger HP sensor [B] (
x 1, x 2, x 1)
Duplex Entrance Sensor
1. Bracket [A] (
x 2)
2. Duplex entrance sensor [B] (
x 1)

Table of Contents

Related product manuals