EasyManua.ls Logo

Ricoh D065 - Punch Mechanisms

Ricoh D065
1351 pages
Print Icon
To Next Page IconTo Next Page
To Next Page IconTo Next Page
To Previous Page IconTo Previous Page
To Previous Page IconTo Previous Page
Loading...
Punch Unit B702 (For B804/B805)
SM 67 D373/D374
Finisher
D373/D374
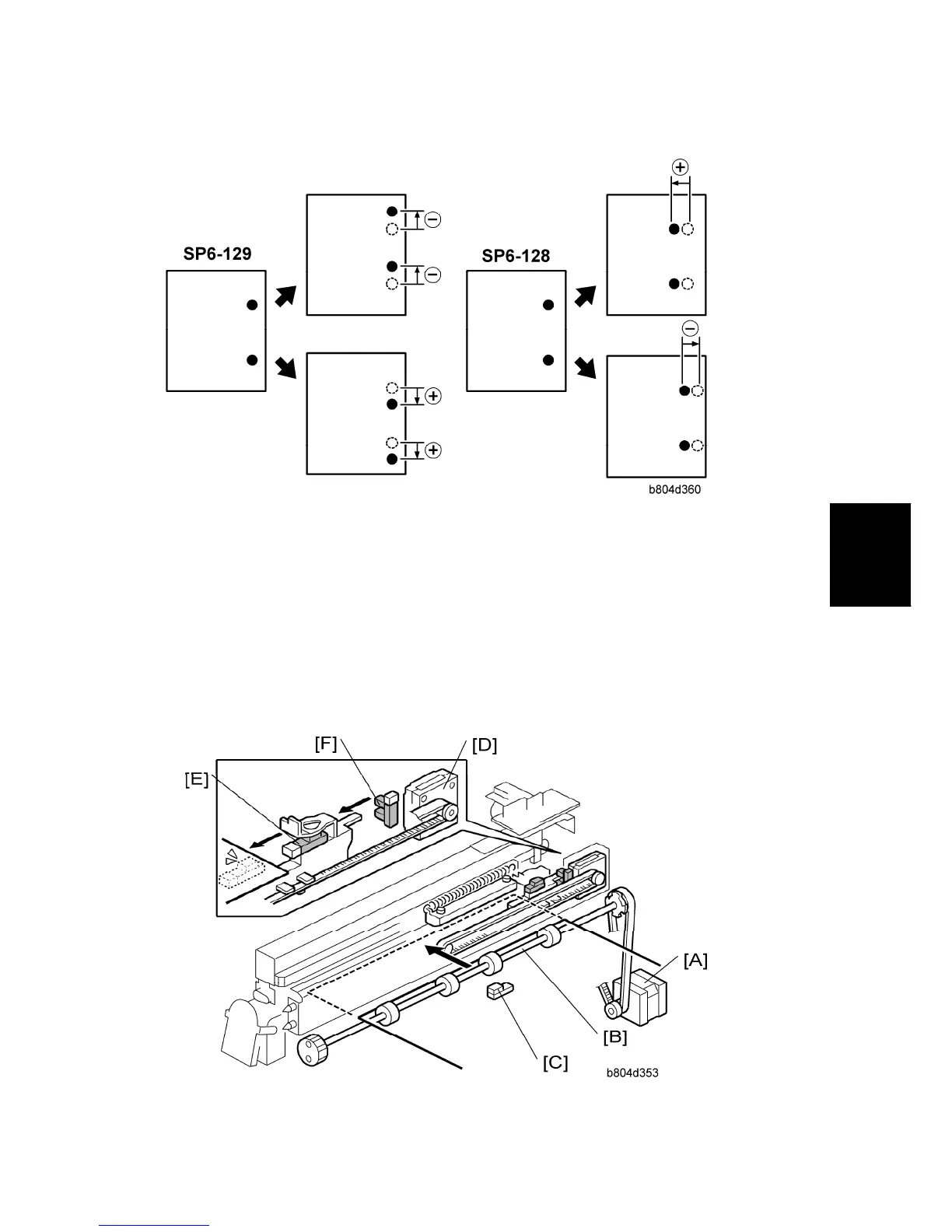
These SP codes adjust the punch hole alignment:
SP6-128 Adjusts the punch positions in the direction of paper feed.
SP6-129 Adjusts the punch position perpendicular to the direction of feed.
For more, see Section "Service Tables".
2.8.2 PUNCH MECHANISMS
Paper Position Detection

Table of Contents

Related product manuals