EasyManua.ls Logo

Ricoh D065 - Positioning Roller

Ricoh D065
1351 pages
Print Icon
To Next Page IconTo Next Page
To Next Page IconTo Next Page
To Previous Page IconTo Previous Page
To Previous Page IconTo Previous Page
Loading...
Stapler Unit
SM 9 D373/D374
Finisher
D373/D374
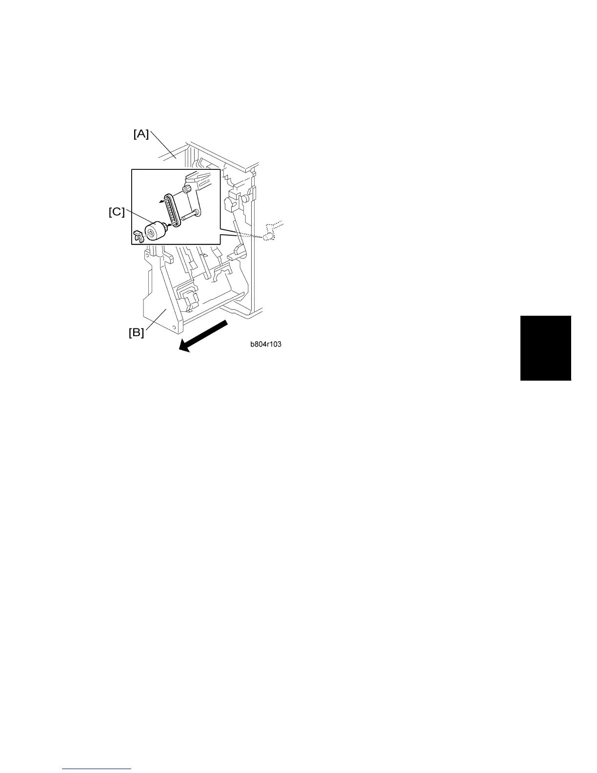
1.3.2 POSITIONING ROLLER
1. Open the front door [A].
2. Pull out the stapling unit [B].
3. Positioning roller [C] ( x1, timing belt x1)

Table of Contents

Related product manuals