EasyManua.ls Logo

Ricoh D065 - Right Covers

Ricoh D065
1351 pages
Print Icon
To Next Page IconTo Next Page
To Next Page IconTo Next Page
To Previous Page IconTo Previous Page
To Previous Page IconTo Previous Page
Loading...
Operation Panel and External Covers
SM 4-7 D062/D063/D065/D066
Replacement
and
Adjustment
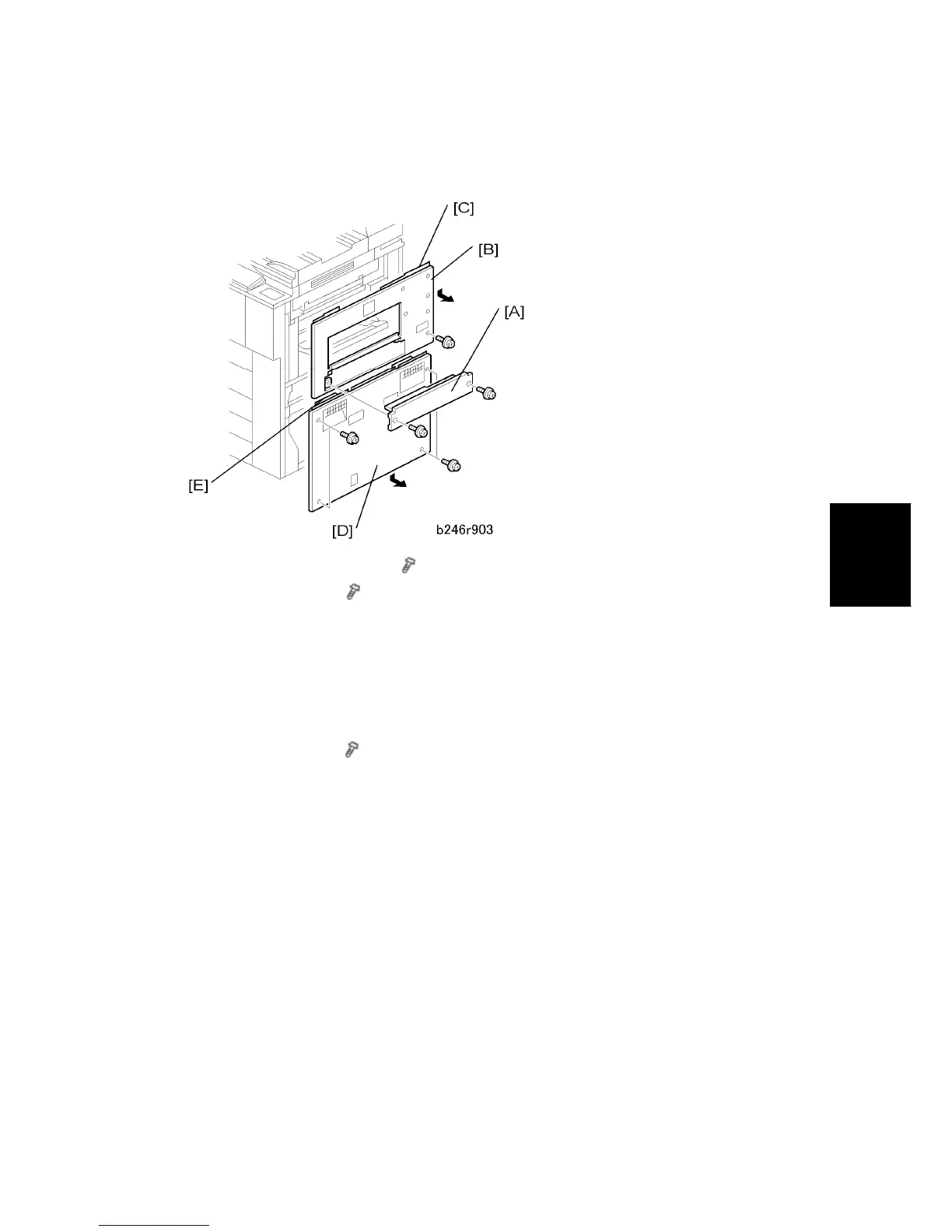
4.3.3 RIGHT COVERS
1. LCT entrance guide cover [A] (
x 2)
2. Right upper cover [B] (
x 2)
To remove the right cover, remove the LCT entrance guide plate, open the by-pass
tray, then slide the right upper cover down to remove it.
Before tightening the screws when re-attaching, make sure that 1) the tabs [C] on
the cover are engaged with the grooves on the machine, and 2) the catches on the
cover are engaged with the shoulder screws.
3. Right lower cover [D] (
x 2)
After removing the screws, slide the cover down to remove it.
When re-attaching, before tightening the screws make sure that the tabs [E] on the
cover are engaged with the grooves on the machine.

Table of Contents

Related product manuals