EasyManua.ls Logo

Ricoh D065 - Reinstallation

Ricoh D065
1351 pages
Print Icon
To Next Page IconTo Next Page
To Next Page IconTo Next Page
To Previous Page IconTo Previous Page
To Previous Page IconTo Previous Page
Loading...
Fusing Unit
D062/D063/D065/D066 4-60 SM
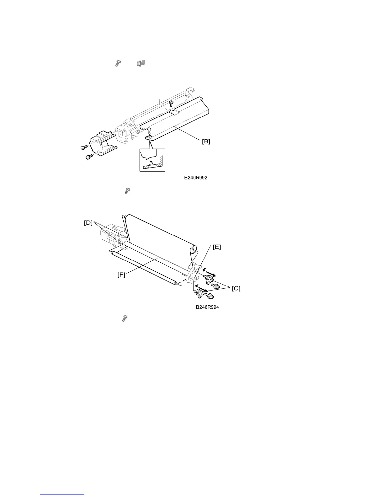
2. Web unit [A] ( x 2, x 2)
The web unit can be removed without removing the fusing unit from the machine.
3. Upper cover [B] (
x 1)
Rotate the cover down slightly to remove.
4. Web shafts [C] (
x 2)
5. Remove the web cleaning rollers from the shaft driver pins [D].
6. Web bushing [E] (spring x 1)
7. Cleaning roller [F]
Reinstallation
After replacing the web with a new one, you must execute SP1902-001 (Fusing Web
Used Area Display/Setting) to reset the web consumption count to zero. This SP code
must be executed to release SC550.
Unnecessary step deleted.
Rev. 02/22/2011

Table of Contents

Related product manuals