EasyManua.ls Logo

Ricoh D065 - Other Adf Sensors

Ricoh D065
1351 pages
Print Icon
To Next Page IconTo Next Page
To Next Page IconTo Next Page
To Previous Page IconTo Previous Page
To Previous Page IconTo Previous Page
Loading...
ADF
SM 4-123 D062/D063/D065/D066
Replacement
and
Adjustment
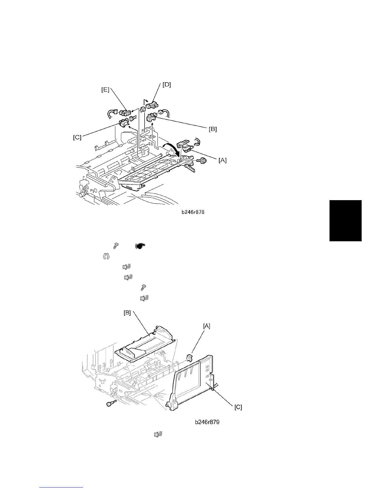
4.13.10 OTHER ADF SENSORS
1. Open the feed cover.
2. Open the front door
3. Rear covers ( x 4) ( p.4-8)
4. Clips [A] (
x 1)
5. Original tray [B] (
x 1)
6. Bottom plate [C] (
x 1)
7. Original set sensor [D] (
x 1)
8. Feed cover sensor [E] (
x 1)
9. Bottom plate HP sensor [A] (
x 1)

Table of Contents

Related product manuals