EasyManua.ls Logo

Ricoh D065 - Page 1187

Ricoh D065
1351 pages
Print Icon
To Next Page IconTo Next Page
To Next Page IconTo Next Page
To Previous Page IconTo Previous Page
To Previous Page IconTo Previous Page
Loading...
Video Data Path
D418 174 SM
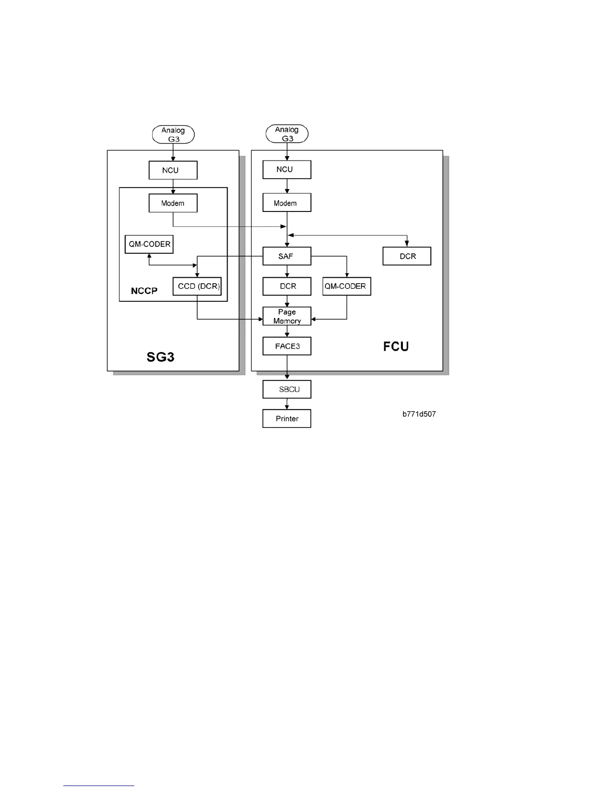
5.3.2 RECEPTION
First, the FCU stores the incoming data from either an analog line to the SAF memory. (The
data goes to the FACE3 at the same time, and is checked for error lines/frames.)
The FCU then decompresses the data and transfers it to page memory. If image rotation
will be done, the image is rotated in the page memory. The data is transferred to the IPU.
If the optional G3 unit is installed, the line that the message comes in on depends on the
telephone number dialled by the other party (the optional G3 unit has a different telephone
number from the main fax board).
JBIG Reception
When data compressed with JBIG comes in on PSTN-1 (the standard analog line), the data
is sent to the QM-CODER for decompression. Then the data is stored in the page memory,
and transferred to the IPU.
When data compressed with JBIG comes in on PSTN-2 (optional extra analog line), the
data is sent to the QM-CODER on the SG3 board for decompression.

Table of Contents

Related product manuals