EasyManua.ls Logo

Ricoh D065 - Page 149

Ricoh D065
1351 pages
Print Icon
To Next Page IconTo Next Page
To Next Page IconTo Next Page
To Previous Page IconTo Previous Page
To Previous Page IconTo Previous Page
Loading...
Copy Connector Kit (B328)
SM 2-101 D062/D063/D065/D066
Installation
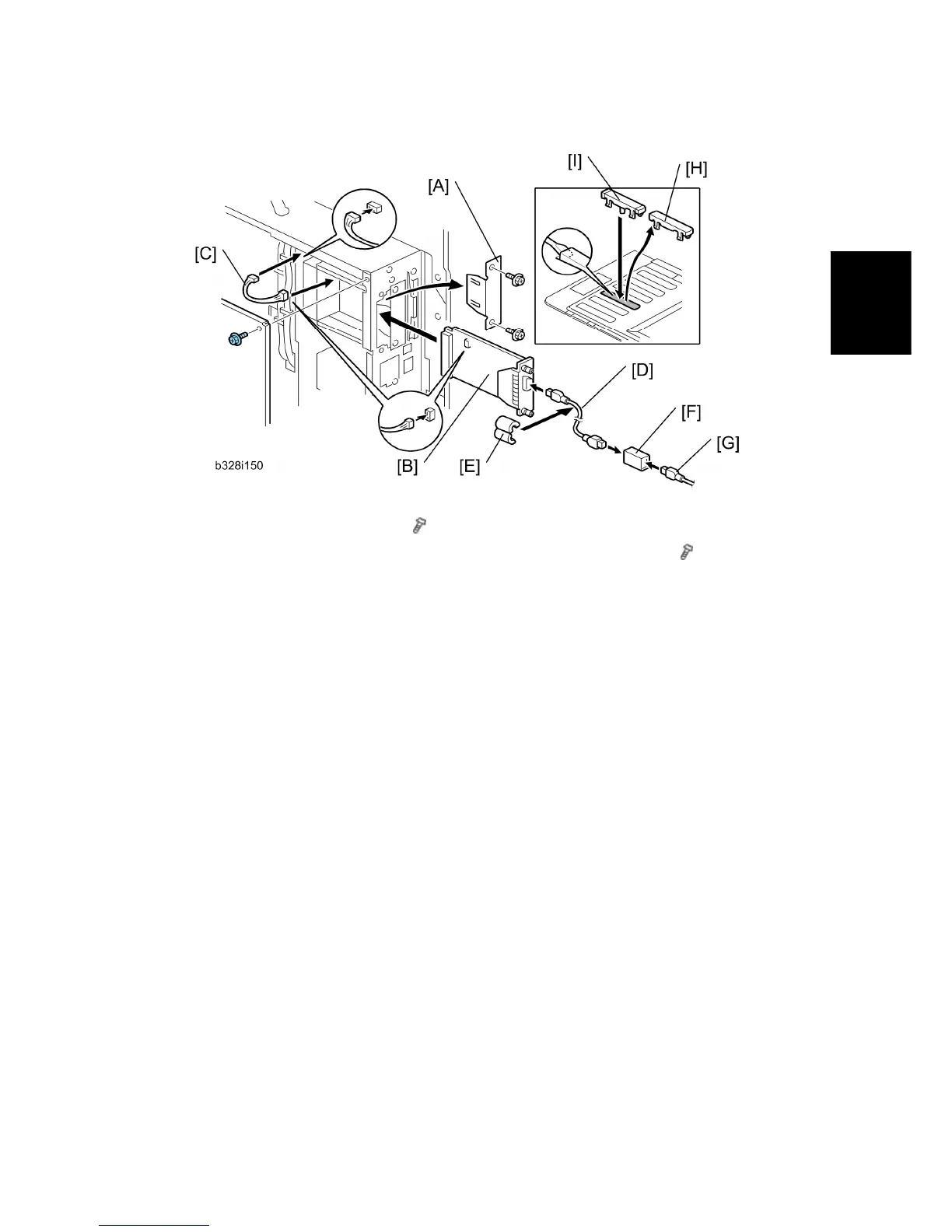
2. Remove the cover [A] of Slot B (
x 2).
3. Install the Copier Connection Kit Board B328 [B] in Slot B and fasten it (
x 2).
4. Connect the power repeater cable [C] to:
CN32 on the controller board
CN4 on the copy connector board
5. Reattach the controller box cover, rear upper and lower cover.
Repeat Steps 1 to 5 to install the connector kit on the second machine.
6. Connect the end of the interface cable [D] to the copy connector board.
7. Attach the ferrite cores [E] to both ends of the interface cable.
8. If additional cable is required, connect the cables [G] with repeater hubs [F].
9. On the operation panel of each machine, remove the third cover [H] from the bottom
("Printer").
10. Install the appropriate key on each machine.
11. Attach the "Printer/Other Function" key [I] (or its equivalent symbol for EU) if the
printer/scanner option is installed.
12. -or-
13. Attach the "Other Function" key [I] (or its equivalent symbol for EU) if the
printer/scanner option is not installed.
14. Attach the other end of the connection cable to the copy connector board installed in
the other machine.
Rev. 08/03/2009

Table of Contents

Related product manuals