EasyManua.ls Logo

Ricoh D065 - Page 82

Ricoh D065
1351 pages
Print Icon
To Next Page IconTo Next Page
To Next Page IconTo Next Page
To Previous Page IconTo Previous Page
To Previous Page IconTo Previous Page
Loading...
LG/B4 Feeder Kit (B474)
D062/D063/D065/D066 2-34 SM
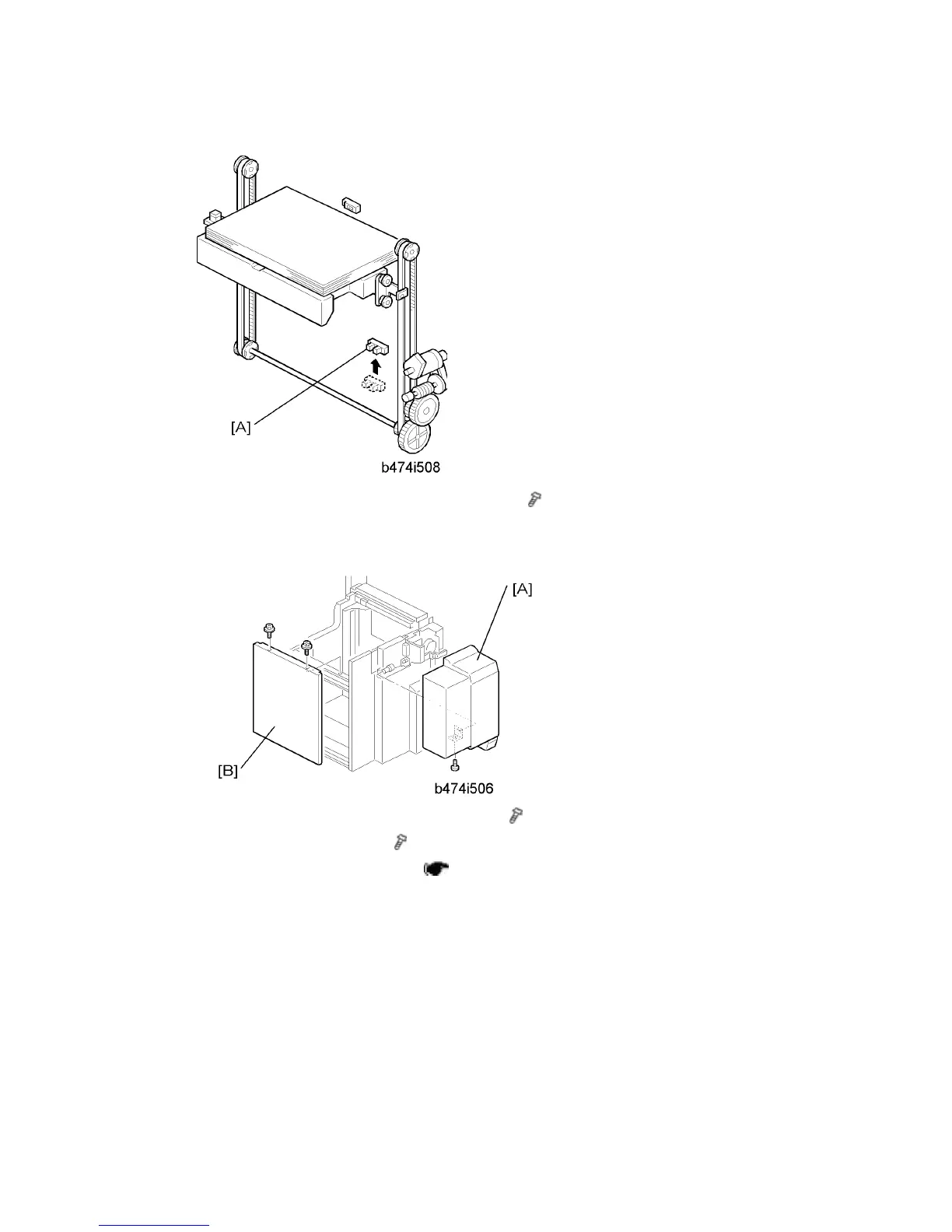
15. Change the position of the lower limit sensor [A] (
x 1).
16. Attach the harness (not shown) to the back of the plate and secure the sensor
connector wire.
17. Attach the LCT cover [A] provided with the kit (
x 1).
18. Re-attach the right cover [B] (
x 2).
19. Connect the LCT to the machine (
p.2-26 "LCT (B473)")
20. Switch the machine on, enter the SP mode, then use SP5959 005 (Paper Size – Tray 4
(LCT) to select the new paper size. For details, see SP5959 in "Service Tables".

Table of Contents

Related product manuals