EasyManua.ls Logo

Ricoh D065 - Page 98

Ricoh D065
1351 pages
Print Icon
To Next Page IconTo Next Page
To Next Page IconTo Next Page
To Previous Page IconTo Previous Page
To Previous Page IconTo Previous Page
Loading...
Punch Unit (B531)
D062/D063/D065/D066 2-50 SM
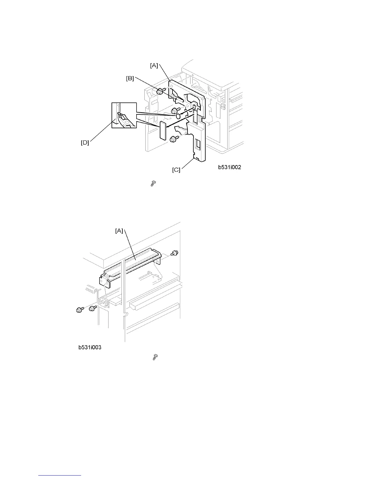
5. Remove the inner cover [A] (
x 3).
6. Behind the inner cover at [B] and [C], press the lock tab to the right to release the inner
cover from the frame.
7. Remove the plastic knockouts [D].
8. Remove the paper guide [A] ( x 4).

Table of Contents

Related product manuals