EasyManua.ls Logo

Ricoh D065 - Page 992

Ricoh D065
1351 pages
Print Icon
To Next Page IconTo Next Page
To Next Page IconTo Next Page
To Previous Page IconTo Previous Page
To Previous Page IconTo Previous Page
Loading...
Booklet Stapling (B804 Only)
SM 61 D373/D374
Finisher
D373/D374
[H]
Clamp Roller
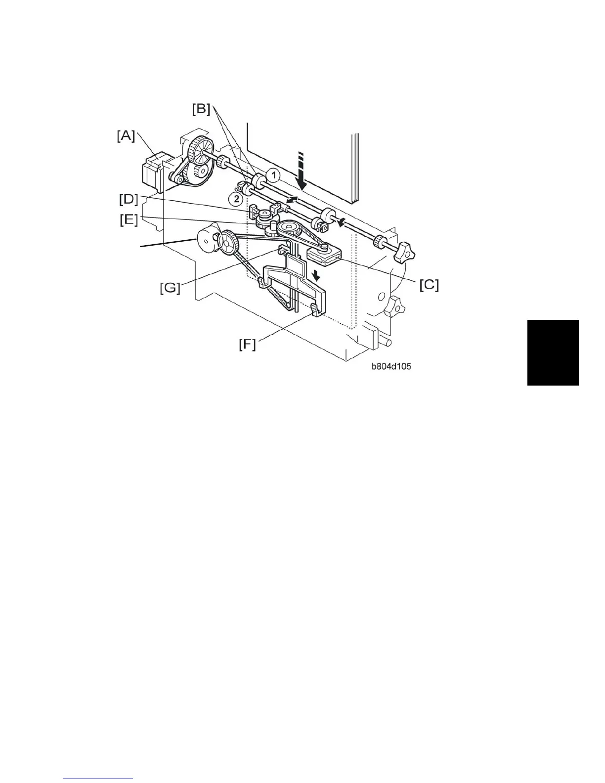
[A]: Fold Roller Motor. Drives the stationary clamp drive roller { as well as the fold rollers
(see next page).
[B]: Clamp Rollers.
{ Clamp Roller – Drive. Rotated by the fold roller motor, this stationary roller feeds the stack
down with the retracting roller closed.
| Clamp Roller – Retracting. Opened and closed by the retraction motor [C].
[C]: Clamp Roller Retraction Motor. Operates the clamp roller cam that retracts the retracting
clamp roller. The clamp rollers feed the stack to within 3 mm of the bottom fence when
closed and then open to drop the stack onto the bottom fence.
[D]: Clamp Roller HP Sensor. Controls the rotation of the clamp roller retraction motor and
cam that open and close the retracting clamp roller.
[E]: Clamp Roller Cam. Forces open the spring loaded retracting clamp roller.
Bottom Fence
[F]: Bottom Fence. Raises the booklet stapled stack to the fold position.
[G]: Bottom Fence HP Sensor. Detects the actuator on the bottom fence and stops it at the
home position after folding.
[H]: Bottom Fence Lift Motor. Raises the bottom fence and stapled stack to the fold position
prescribed for the paper size.

Table of Contents

Related product manuals