EasyManua.ls Logo

Ricoh K-C3 - Thermostat; Pressure Roller and Bushings

Ricoh K-C3
289 pages
To Next Page IconTo Next Page
To Next Page IconTo Next Page
To Previous Page IconTo Previous Page
To Previous Page IconTo Previous Page
Loading...
B245/B276/B277/B268/B269 Service Manual 18-Jan-06
98
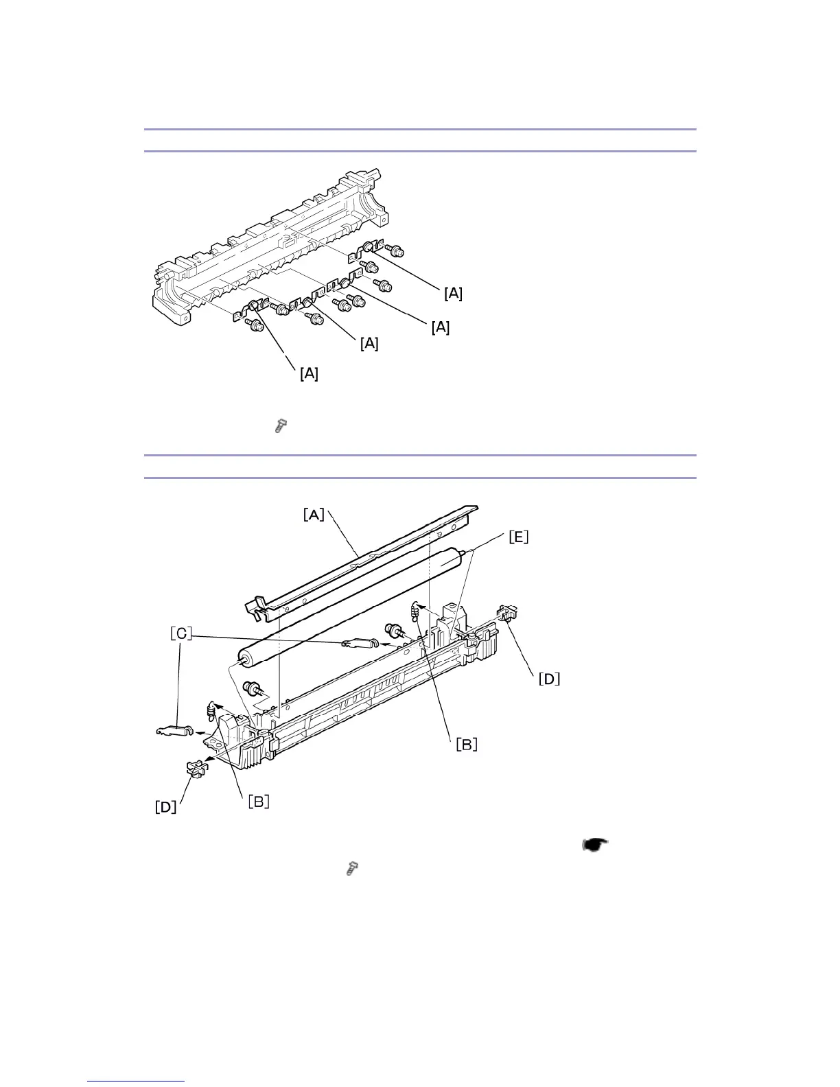
Thermostat
1. Hot roller (See above)
2. Thermostat [A] (
x 2 for each)
Pressure Roller and Bushings
1. Separate the hot roller section from the pressure roller section (
p.96).
2. Fusing entrance guide [A] (
x 2)
3. 2 springs [B]
4. 2 pressure arms [C]
5. 2 Bushings [D]
6. Pressure roller [E]

Table of Contents

Related product manuals