EasyManua.ls Logo

Ricoh K-C3 - Drive Layout

Ricoh K-C3
289 pages
To Next Page IconTo Next Page
To Next Page IconTo Next Page
To Previous Page IconTo Previous Page
To Previous Page IconTo Previous Page
Loading...
B245/B276/B277/B268/B269 Service Manual 18-Jan-06
195
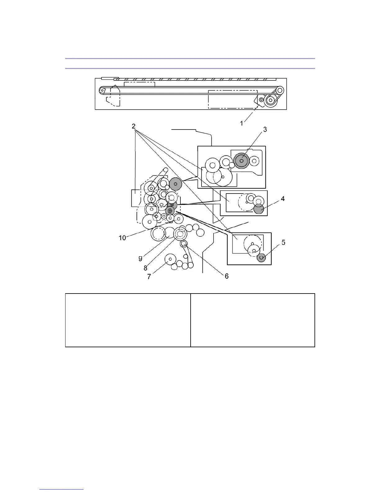
Drive Layout
1. Scanner Motor
2. Main Motor
3. Hot Roller
4. OPC Drum
5. Development Roller
6. Relay Clutch
7. Lower Paper Feed Clutch
8. By-pass Feed Clutch
9. Upper Paper Feed Clutch
10. Registration Clutch

Table of Contents

Related product manuals