EasyManua.ls Logo

Ricoh K-C3 - Scanner Drive

Ricoh K-C3
289 pages
Print Icon
To Next Page IconTo Next Page
To Next Page IconTo Next Page
To Previous Page IconTo Previous Page
To Previous Page IconTo Previous Page
Loading...
B245/B276/B277/B268/B269 Service Manual 18-Jan-06
201
Rating Manufacturer Type No.
ICP1 DC50 V/1.5 A ROHM CO.,LTD ICP–N38
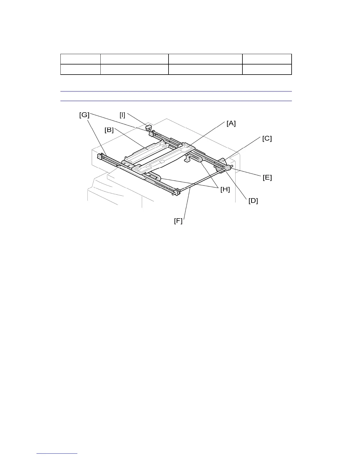
Scanner Drive
A stepper motor drives the 1st and 2nd scanners [A, B]. The 1st scanner is driven by the
scanner drive motor [C], drive gear through the timing belt [D], scanner drive pulley [E],
scanner drive shaft [F], and two timing belts [G]. The 2nd scanner is driven through the 1st
scanner and two timing belts [H].
- Book mode -
The BICU controls and operates the scanner drive motor. In full size mode, the 1st scanner
speed is 100 mm/s during scanning. The 2nd scanner speed is half that of the 1st scanner.
In reduction or enlargement mode, the scanning speed depends on the magnification ratio.
The returning speed is always the same, whether in full size or magnification mode. The
image length change in the sub scan direction is done by changing the scanner drive motor
speed, and in the main scan direction it is done by image processing on the BICU board.
Magnification in the sub-scan direction can be adjusted by changing the scanner drive motor
speed using SP 4008. Magnification in the main scan direction can be adjusted using SP
4009.
- ADF mode -
The scanners are always kept at their home position (the scanner HP. sensor [I] detects the
1st scanner) to scan the original. The ADF motor feeds the original through the ADF. In
reduction/enlargement mode, the image length change in the sub-scan direction is done by

Table of Contents

Related product manuals