EasyManua.ls Logo

Ricoh K-C3 - Lamp Stabilizer Board and Exposure Lamp; Original Width;Length Sensor

Ricoh K-C3
289 pages
Print Icon
To Next Page IconTo Next Page
To Next Page IconTo Next Page
To Previous Page IconTo Previous Page
To Previous Page IconTo Previous Page
Loading...
B245/B276/B277/B268/B269 Service Manual 18-Jan-06
63
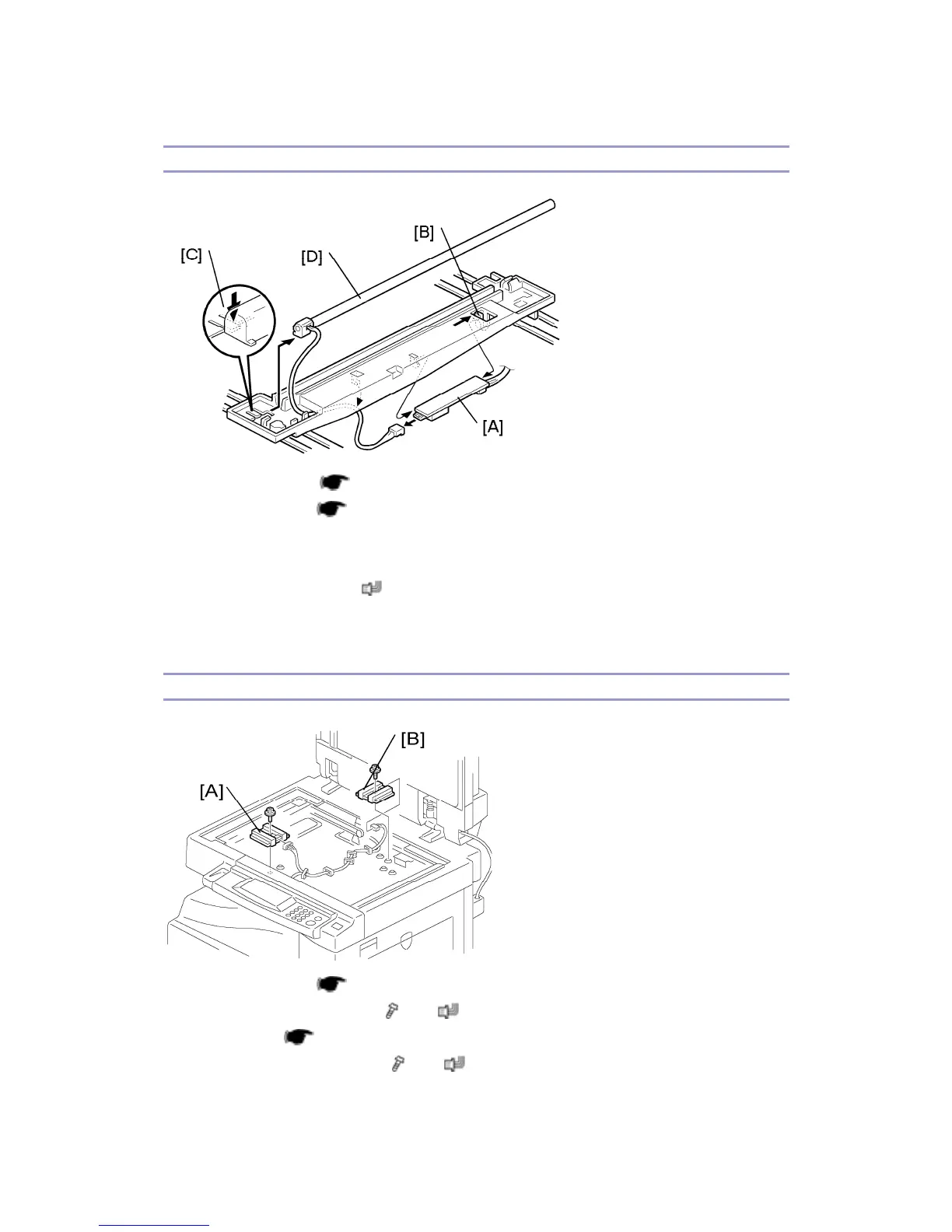
Lamp Stabilizer Board And Exposure Lamp
1. Operation panel (
p.55)
2. Exposure glass (
p.61)
3. Slide the first scanner to a position where the front end of the lamp is visible.
4. Place one hand under the lamp stabilizer board [A] and release the hook [B].
5. Lamp stabilizer board (
x 2)
6. Press the plastic latch [C] and push the front end of the lamp toward the rear.
7. Lamp [D] (with the cable)
Original Width/Length Sensor
1. Exposure glass (
p.61)
2. Original width sensor [A] (
x 1, x 1)
3. Lens block (
p.62)
4. Original length sensor [B] (
x 1, x 1)

Table of Contents

Related product manuals