EasyManua.ls Logo

Ricoh K-C3 - Drive; Developer Mixing; B245;B276;B277;B268;B269 Service Manual 18-Jan

Ricoh K-C3
289 pages
Print Icon
To Next Page IconTo Next Page
To Next Page IconTo Next Page
To Previous Page IconTo Previous Page
To Previous Page IconTo Previous Page
Loading...
B245/B276/B277/B268/B269 Service Manual 18-Jan-06
228
Drive
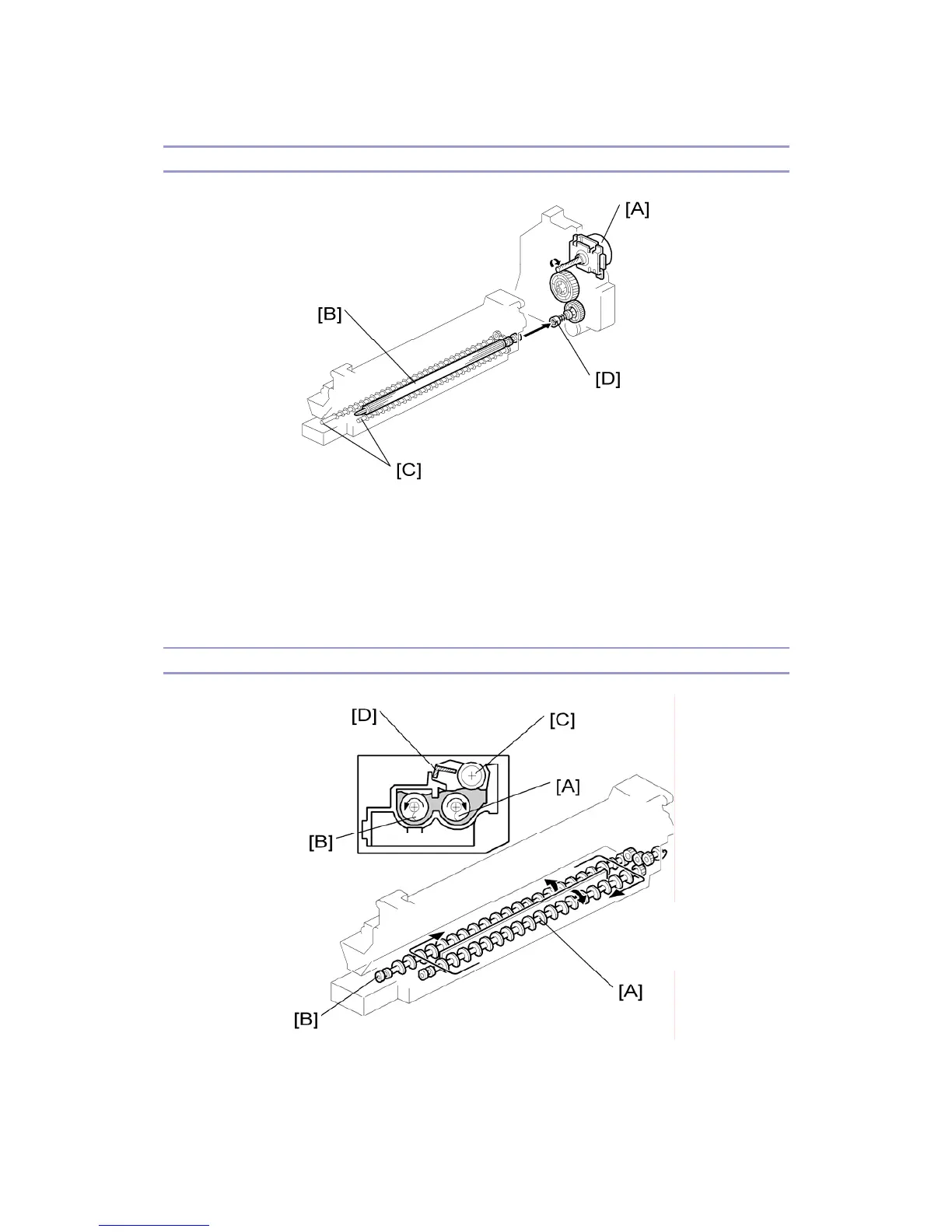
The main motor [A] drives the development roller [B] and mixing augers [C] through a train of
gears and the development drive shaft [D]. When the PCU is pushed in, the development
drive shaft engages the development roller gear.
The development drive gears (except for the gears in the development unit) are helical gears.
These gears are quieter than normal gears.
Developer Mixing
The two mixing augers, [A, B] keep the developer evenly mixed. Mixing auger 2 [A] transports
excess developer, scraped off the development roller [C] by the doctor blade [D], towards the

Table of Contents

Related product manuals