EasyManua.ls Logo

Ricoh K-C3 - Key Counter Installation

Ricoh K-C3
289 pages
Print Icon
To Next Page IconTo Next Page
To Next Page IconTo Next Page
To Previous Page IconTo Previous Page
To Previous Page IconTo Previous Page
Loading...
B245/B276/B277/B268/B269 Service Manual 18-Jan-06
31
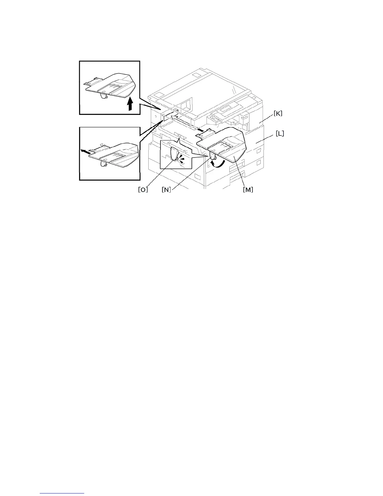
12. Reattach the front right cover [K].
13. Close the front cover [L].
14. Install the exit tray [M] as follows:
Keep the front end higher than the rear end.
Push the left hook into the opening in the copier.
Push the right hook into the opening in the copier.
15. Pull the support [N] out of the left end of the exit tray.
16. Insert the support into the left end of the paper exit tray [O] (of the copier).
17. Turn the main switch on.
18. Check the operation.

Table of Contents

Related product manuals