EasyManua.ls Logo

Ecolab ULTRAX Compact - Page 130

Ecolab ULTRAX Compact
568 pages
Print Icon
To Next Page IconTo Next Page
To Next Page IconTo Next Page
To Previous Page IconTo Previous Page
To Previous Page IconTo Previous Page
Loading...
FY30 Schmutzfänger mit Muffenanschluss
www.honeywell.de/haustechnik 61
GE0H-1122GE23 R0310 • Änderungen vorbehalten
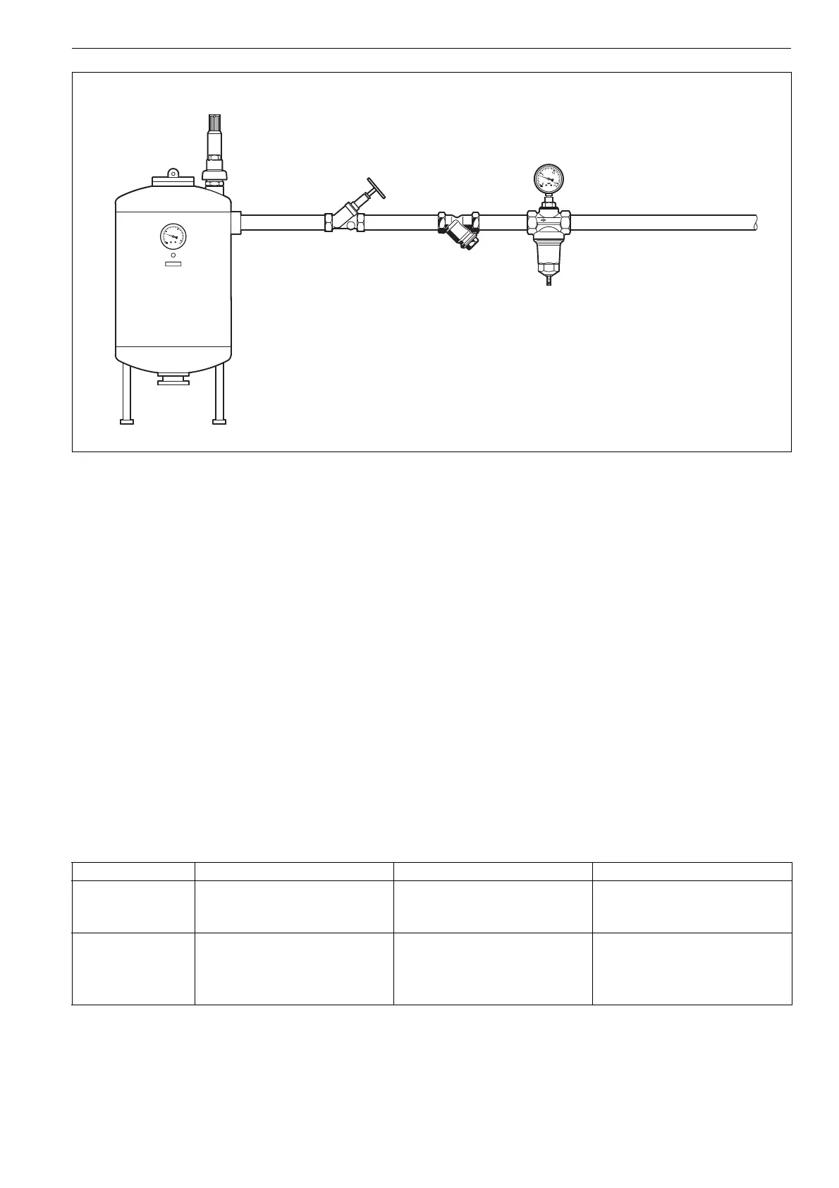
Einbaubeispiel
Einbauhinweise
Einbau in waagrechte Rohrleitung mit Verschlussstopfen
nach unten
o In dieser Einbaulage ist eine optimale Reinigung
gewährleistet
o Beim Einbau in eine Steigleitung werden die Schmutz-
partikel im Sieb nicht gesammelt
Absperrventile vorsehen
o Mit Absperrventilen ist eine schnelle Reinigung möglich
Auf gute Zugänglichkeit achten
o Siebeinsatz gut ausbaubar
o Vereinfacht Wartung und Reinigung
Anwendungsbeispiele
Schmutzfänger dieses Typs sind in Rohrleitungen vor Armaturen
und Anlagen unerlässlich. Sie können für industrielle und
gewerbliche Anlagen unter Berücksichtigung ihrer Spezifika-
tionen eingesetzt werden.
Schmutzfänger müssen eingebaut werden:
wenn bei Maschinen oder Anlagen durch Schmutzanfall ein
vorzeitiger Verschleiß auftreten kann
wenn bei Armaturen oder Aggregaten ein Blockieren möglich
ist
wenn bei eingespülten Schmutzpartikeln Korrosion auftreten
kann
Instandhaltung
Entsprechend der DIN 1988, Teil 8, sollten folgende Maßnahmen regelmäßig vorgesehen werden. Wir empfehlen den Abschluss eines
Wartungsvertrags zwischen Betreiber und Installationsunternehmen.
Maßnahme Zeitabstand Durchführung
Inspektion Kontrolle des Siebeinsatzes und der
Dichtung auf exakten Sitz und
Dichtheit
nach den örtlichen
Betriebsbedingungen
Betreiber oder Installationsunter-
nehmen
Wartung Reinigung des Siebeinsatzes oder
gegebenenfalls Sieb erneuern
Reinigung des Dichtrings und
gegebenenfalls erneuern
nach den örtlichen
Betriebsbedingungen
Betreiber oder Installationsunter-
nehmen

Table of Contents

Related product manuals