EasyManua.ls Logo

Ecolab ULTRAX Compact - Page 416

Ecolab ULTRAX Compact
568 pages
Print Icon
To Next Page IconTo Next Page
To Next Page IconTo Next Page
To Previous Page IconTo Previous Page
To Previous Page IconTo Previous Page
Loading...
FY30 Brass Y-strainer
www.honeywell.com 83
EN0H-1122GE23 R0808 • Subject to change
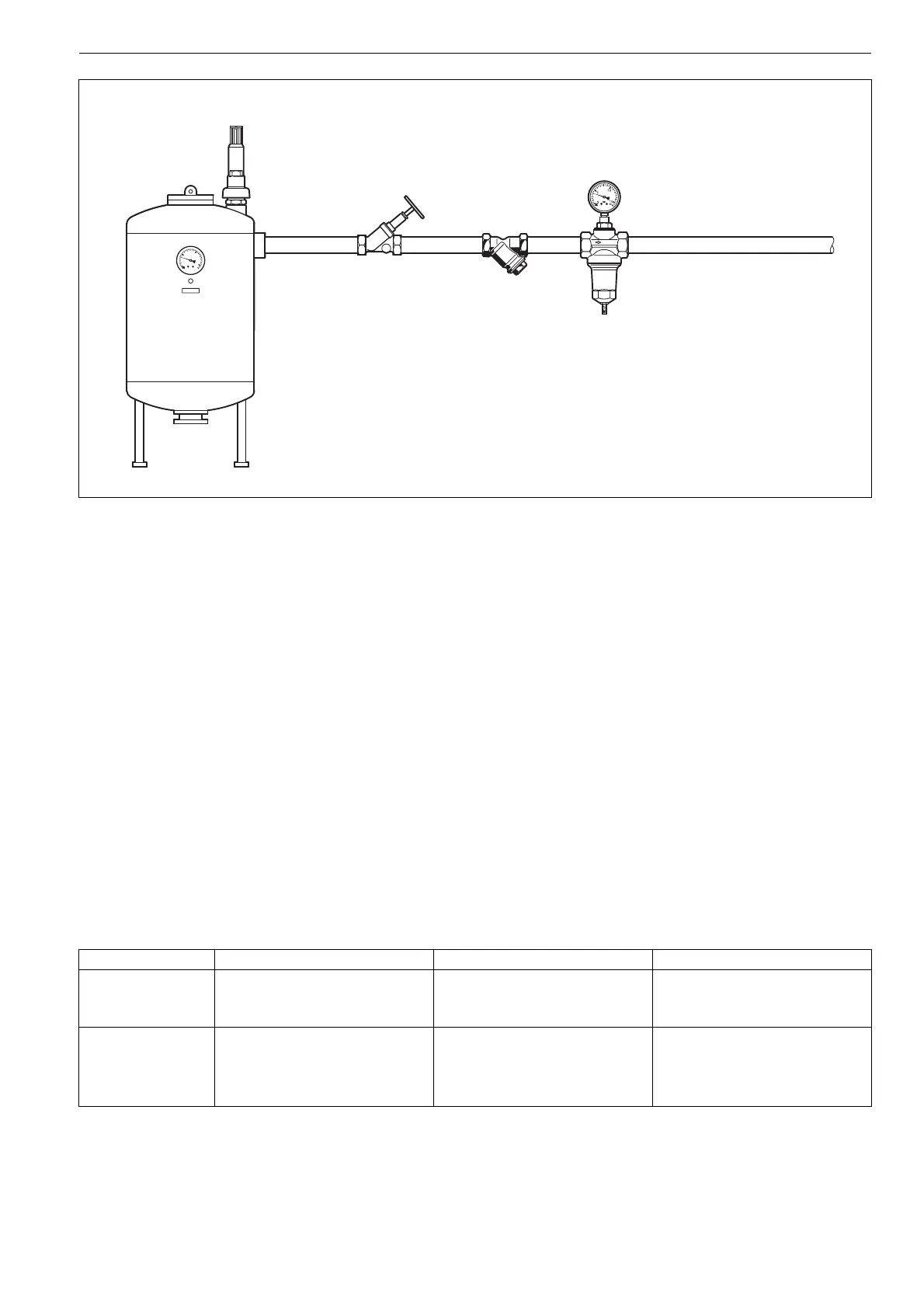
Installation Example
Installation Guidelines
If possible install in horizontal pipework with blanking plug
downwards
o This position ensures optimum cleaning efficiency
o Where installed in rising pipework dirt particles will not
collect in strainer
Install shutoff valves
o Enables fast cleaning of the strainer
Ensure good access
o So that the sieve can be easily removed
o Simplified maintenance and cleaning
Typical Applications
Strainers of this type are essential on inlet pipework to appliances
and systems. They can be used for commercial and industrial
applications within the limits of their specifications.
Strainers must be fitted:
Where the presence of dirt can cause premature wear in
machines or systems
Where it is possible that appliances or systems can become
blocked
Where the ingress of dirt particles can cause corrosion
Inspection and Maintenance
DIN 1988, Part 8 specifies that the following operations be carried out regularly.
A scheduled maintenance scheme is recommended.
Operation Interval Carried out by
Inspection Inspection of the location and water
tightness of sieve insert and sealing
ring
According to operating conditions User or specialist
Maintenance Cleaning or if necessary replace-
ment of sieve
Cleaning and if necessary replace-
ment of the sealing ring
According to operating conditions User or specialist

Table of Contents

Related product manuals