EasyManua.ls Logo

Epson N6 Series - Page 48

Epson N6 Series
376 pages
Print Icon
To Next Page IconTo Next Page
To Next Page IconTo Next Page
To Previous Page IconTo Previous Page
To Previous Page IconTo Previous Page
Loading...
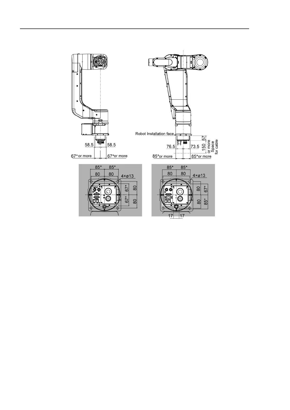
Setup & Operation 3. Environment and Installation
36 N6 Rev.2
N6-A1000**: Cable direction: Upward and Downward
Standard model
Cleanroom model
*: Example of space for Manipulator base for ā€œCable direction: Upward and Downwardā€:
Design the base table as shown above considering not interfering with the positioning holes
and the installation holes.

Table of Contents

Related product manuals