EasyManua.ls Logo

GRAPHTEC FC2250 - Attaching The Electrostatic Adhesion Plate

GRAPHTEC FC2250
210 pages
Print Icon
To Next Page IconTo Next Page
To Next Page IconTo Next Page
To Previous Page IconTo Previous Page
To Previous Page IconTo Previous Page
Loading...
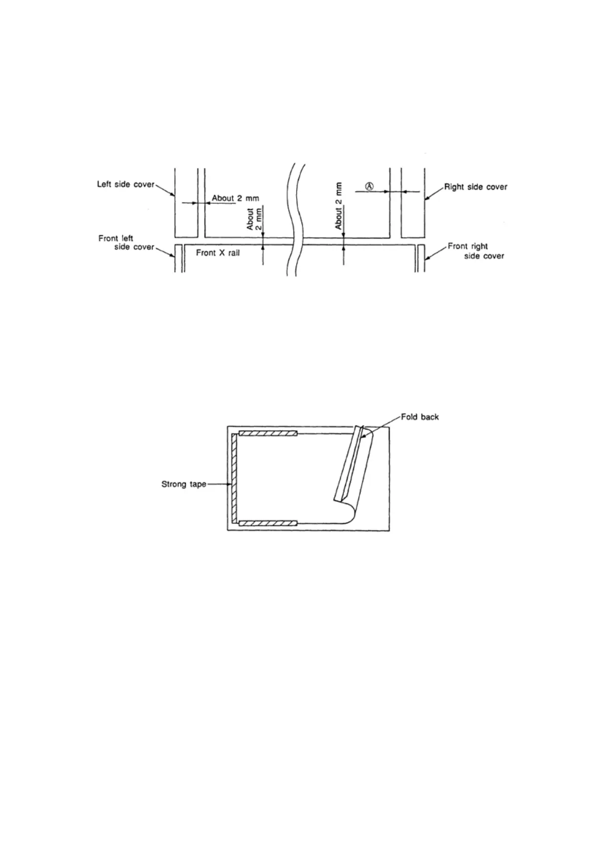
7.8.3 Attaching the Electrostatic Adhesion Plate
(1) Temporarily fasten the side cover, line up the holes for the high-voltage power supply cable on the
writing panel and the electrostatic adhesion plate and position according to the following conditions.
Use the origin side (front X rail side and left side cover side) as the reference.
Position about 2 mm from the origin side as in the gure below.
Since there are slight differences in the size of electrostatic adhesion plates, the dimensions are not
specied with great precision.
“A” in the diagram above is not 2 mm.
Be careful not to let any dirt or dust get under the electrostatic adhesion plate during positioning.
(2) Secure the origin side with strong tape.
(3) Peel off and fold back the backing sheet of the double-sided tape at the high-voltage power supply cable
side for about 100 mm and paste on without letting in any dirt, dust, or air.
(4) Peel off the strong tape used for securing in Step (1) above, and while one person holds the origin side
and checks for and points out any unevenness, the other two persons peel off the double-sided tape
backing sheet and paste on by sliding their hands along.
If dust or dirt gets in, remove it with tweezers or your ngernail tips.
If air gets in, drive out the air at 5 mm intervals by kneading softly.
(5) When the entire surface has been spread out, attach it by sliding your hand across it again and pressing
it.

Table of Contents

Related product manuals