EasyManua.ls Logo

Great Wall hover - Power Transmission - Automatic 1 St Gear

Great Wall hover
425 pages
Print Icon
To Next Page IconTo Next Page
To Next Page IconTo Next Page
To Previous Page IconTo Previous Page
To Previous Page IconTo Previous Page
Loading...
Automatic transmission-33
Power transmission automatic 1
st
-Gear
In automatic 1
st
-Gear, the drive of transmission reaches the reaches the front clutch cylinder through the input shaft.
In this condition, the operating principle of each function unit of transmission is shown as follows:
The engagement of clutch C2 drives the front sun gear
The front sun gear drive the short planetary gear to rotate in anticlockwise.
The short planetary gear drives the long planetary gear to rotates in clockwise.
1-2 one-way clutch (OWC) stops the rotation of planetary gear carrier in counteracting force. At the same time, the long
planetary gear rotates around its axial to drive the ring gear and output shaft to rotate in clockwise to realize the forward
movement.
Control:
In stable status, the status of solenoid valve and valve is shown as follows:
Solenoid valve S1and S2 is powered on
In the action of line 500 pressure, the gear shift valve of 1-2, 2-3, 3-4 Gear is maintained in 1
st
-gear position.
The transmission drive oil (line pressure) from the manual-operated valve makes the engagement of clutch C2.
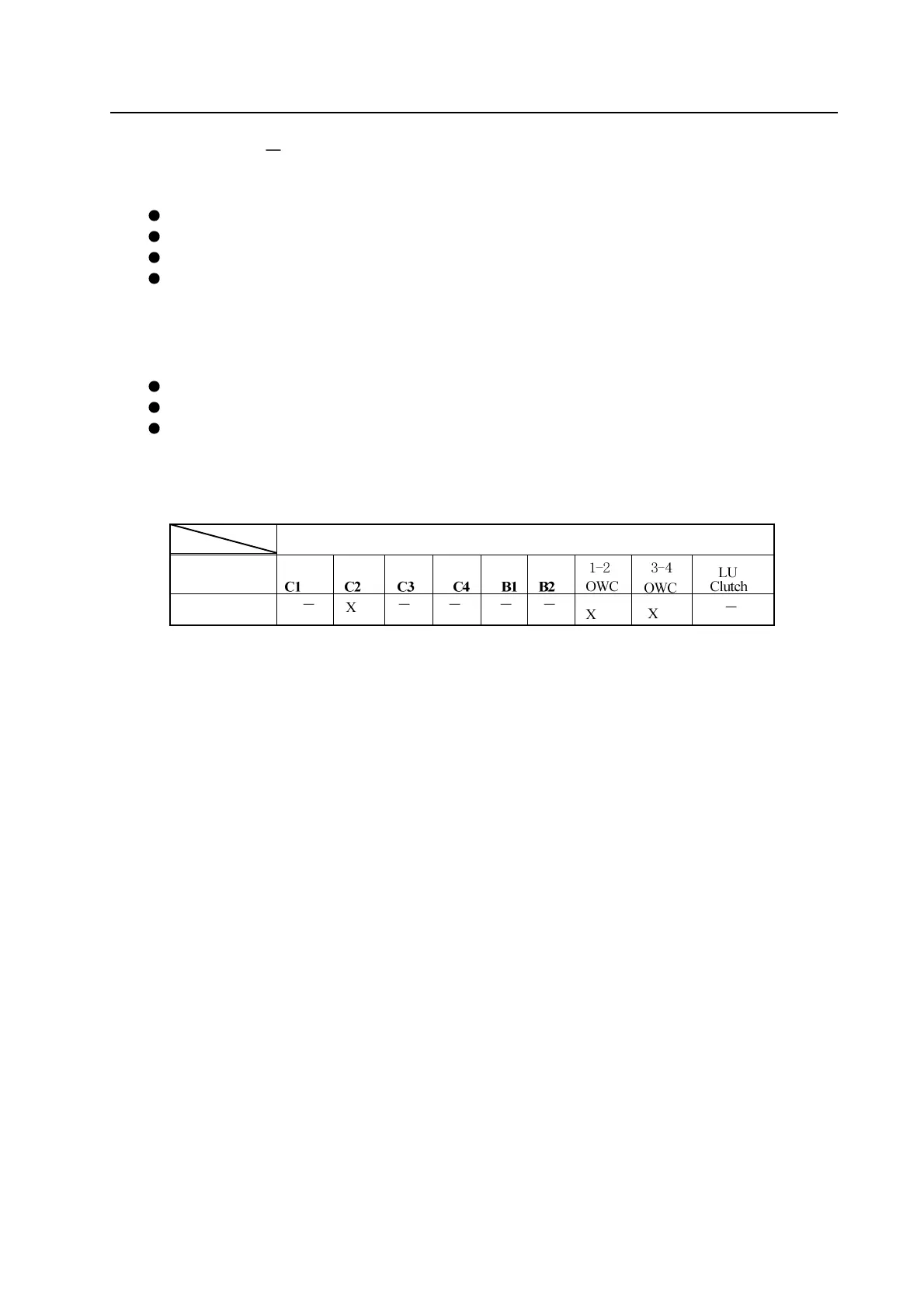
Table 5.5—participating condition of each unit in automatic 1
st
-Gear
Name of participation unit
Gear position
Automatic 1
st
-Gear
Refer to Figure 5.4and Table 5.5.

Table of Contents

Related product manuals