EasyManua.ls Logo

Great Wall hover - Failure Indication; Indicator Lamp’s Activities after Ignition; Micro Controller-Independent Alarm Lamp Illumination

Great Wall hover
425 pages
Print Icon
To Next Page IconTo Next Page
To Next Page IconTo Next Page
To Previous Page IconTo Previous Page
To Previous Page IconTo Previous Page
Loading...
Safety airbag-9
Project 3 functional working (neither possible explosion failure or historical failure).
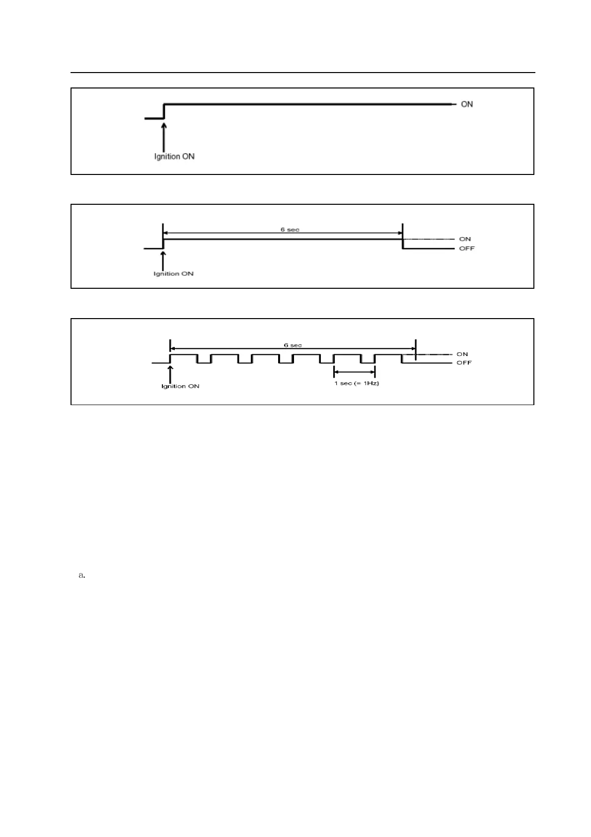
Table 4.9 indicator lamp’s activities after ignition
2.Failure indication
The alarm lamp will indicate it in case any failure arises. If the external failure is a historical one, the indication will be called off. If
the number of history-accumulated failures is or more than 5, the alarm lamp will keep illuminating albeit no failure emerges. The
case of low power will be excluded.
A displayed or historical failure can but only be reconfigured by the service personnel. An internal failure or impact record can not
be reconfigured, in these cases, SRS-ECU must be replaced.
3.Micro controller-independent alarm lamp illumination
The micro-controller in clear failure status can not work therefore can not control the alarm lamp. In this case, the alarm lamp
will be directly lighted via suitable circuit despite of the micro-controller. As following,
The battery for SRS-ECU fails, the alarm lamp will be continuously lighted through the lamp drive function.
b. No internal working voltage, the alarm lamp keeps illuminating
c. Reconfiguration caused by watchdog’s trigging failure, the alarm lamp flashes.
d. No work of micro-controller, the alarm lamp keeps illuminating
e. Incomplete plugging-in of SRS-ECU connector, the alarm lamp keeps illuminating via shoring bar Next explain the diagnostic
procedure by taking some examples
If the alarm lamp is found keeping illuminating, please test it according to the following procedure even it extinguishes finally.
First test the failure region with the scanner followed by the test in the failure region with the corresponding approaches and
steps.
a If an internal failure or the explosion of safety airbag is scanned, replace the SRS-ECU
b.Troubleshooting
Project 2. The number of history- accumulated failures is or more than one and less than 5. (The case of low power is excluded)

Table of Contents

Related product manuals