EasyManua.ls Logo

Hioki 3153 - Page 126

Hioki 3153
255 pages
Print Icon
To Next Page IconTo Next Page
To Next Page IconTo Next Page
To Previous Page IconTo Previous Page
To Previous Page IconTo Previous Page
Loading...
113
_____________________________________________________________________________________________
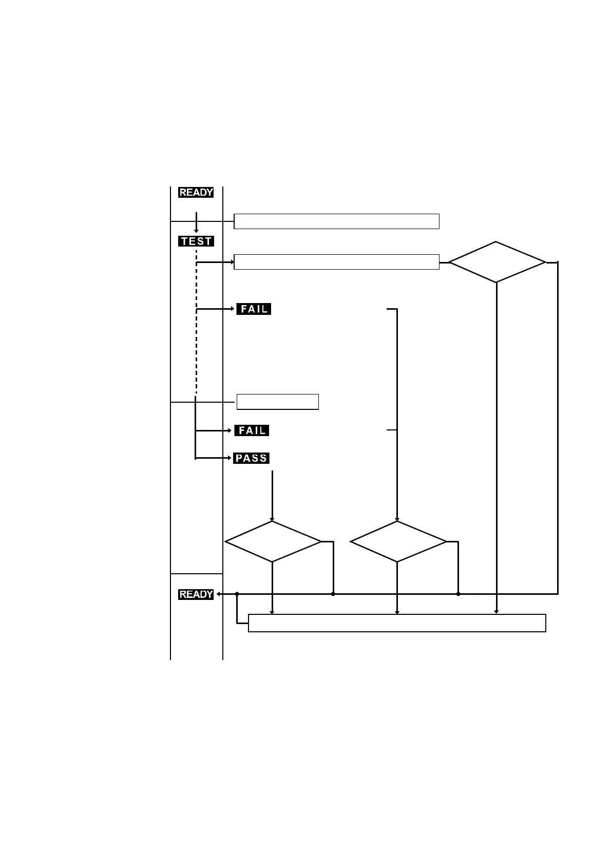
7.3 Hold Function
______________________________________________________________________________________________
Press the
START
key to start a test.
Press the
STOP
key to abort a test.
Hold function
OFF
ON
Determination
(withstand-voltage mode)
Test time elapses.
FAIL Hold
PASS Hold
Determination
OFF OFF
ON ON
Press the
STOP
key to inactivate the hold function.
Determination (insulation-
resistance mode)
Distinction between the PASS Hold Function, FAIL Hold Function,
and Hold Function
If the test time is set to OFF in withstand-voltage mode, PASS screening
is not performed. In such a case, FAIL screening is performed or the test
is terminated using the
STOP
key.
In insulation-resistance mode, if the test time is set to OFF, PASS
screening is not performed. In such a case, the test is terminated using
the
STOP
key.

Table of Contents

Related product manuals