EasyManua.ls Logo

Hioki 3153 - Page 74

Hioki 3153
255 pages
Print Icon
To Next Page IconTo Next Page
To Next Page IconTo Next Page
To Previous Page IconTo Previous Page
To Previous Page IconTo Previous Page
Loading...
61
_____________________________________________________________________________________________
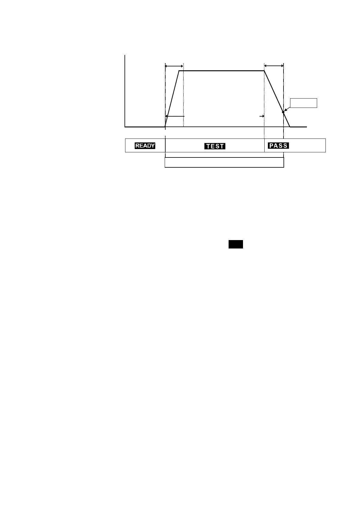
4.5 "PASS" or "FAIL" Determination
______________________________________________________________________________________________
START
DANGER
Lam
p
60 V DC
Delay time
(
Undetermined
p
eriod
)
Test-volta
g
e
Testin
g
time when it set u
p
Electric
dischar
g
etime
Flow of PASS determination
1. Press the
START
key to start a test.
2. A voltage is output until the test time elapses and the resistance is
measured.
3. When the preset test time has elapsed and the measured resistance value
is within the upper- and lower-limit values, the unit stops outputting a
voltage and switches to the PASS state.
PASS
lights up in the PASS state.

Table of Contents

Related product manuals