EasyManua.ls Logo

Hioki 3153 - Page 90

Hioki 3153
255 pages
Print Icon
To Next Page IconTo Next Page
To Next Page IconTo Next Page
To Previous Page IconTo Previous Page
To Previous Page IconTo Previous Page
Loading...
77
_____________________________________________________________________________________________
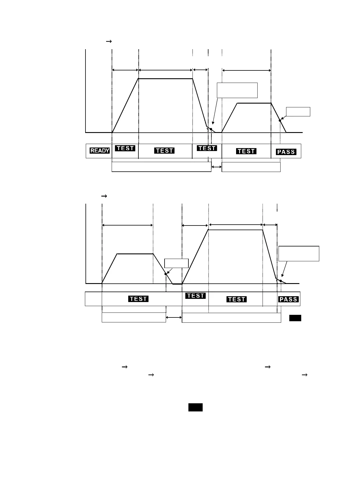
5.5 PASS or FAIL Determination
______________________________________________________________________________________________
Ramp-up
time
DANGER Lam
p
DANGER Lam
p
140 ms
60 VDC
0.03 kV AC or
0.06 kV DC
Ramp-down
time
Test volta
g
e
Insulation
resistance
test time
w
ithstand-voltage
test time
Flashin
g
Flashin
g
DANGER Lam
p
DANGER Lam
p
DANGER Lam
p
80 ms
Test volta
g
e
withstand-voltage
test time
Insulation
resistance
test time
Ramp-up
time
Ramp-down
time
0.03 kV AC or
0.06 kV DC
60 VDC
*
*
:
TEST
flashing
Flashin
g
Flow of PASS determination
W I mode
I W mode
1. Press the
START
key to start a test.
2. In W I mode, the test order is Withstand-voltage test Insulation-
resistance; in I W mode, the test order is Insulation-resistance test
Withstand-voltage test.
3. If both tests clear the test settings, the unit stops outputting a voltage and
switches to the PASS state.
PASS
lights up in the PASS state.

Table of Contents

Related product manuals