EasyManua.ls Logo

HP 8753E - Page 549

HP 8753E
612 pages
Print Icon
To Next Page IconTo Next Page
To Next Page IconTo Next Page
To Previous Page IconTo Previous Page
To Previous Page IconTo Previous Page
Loading...
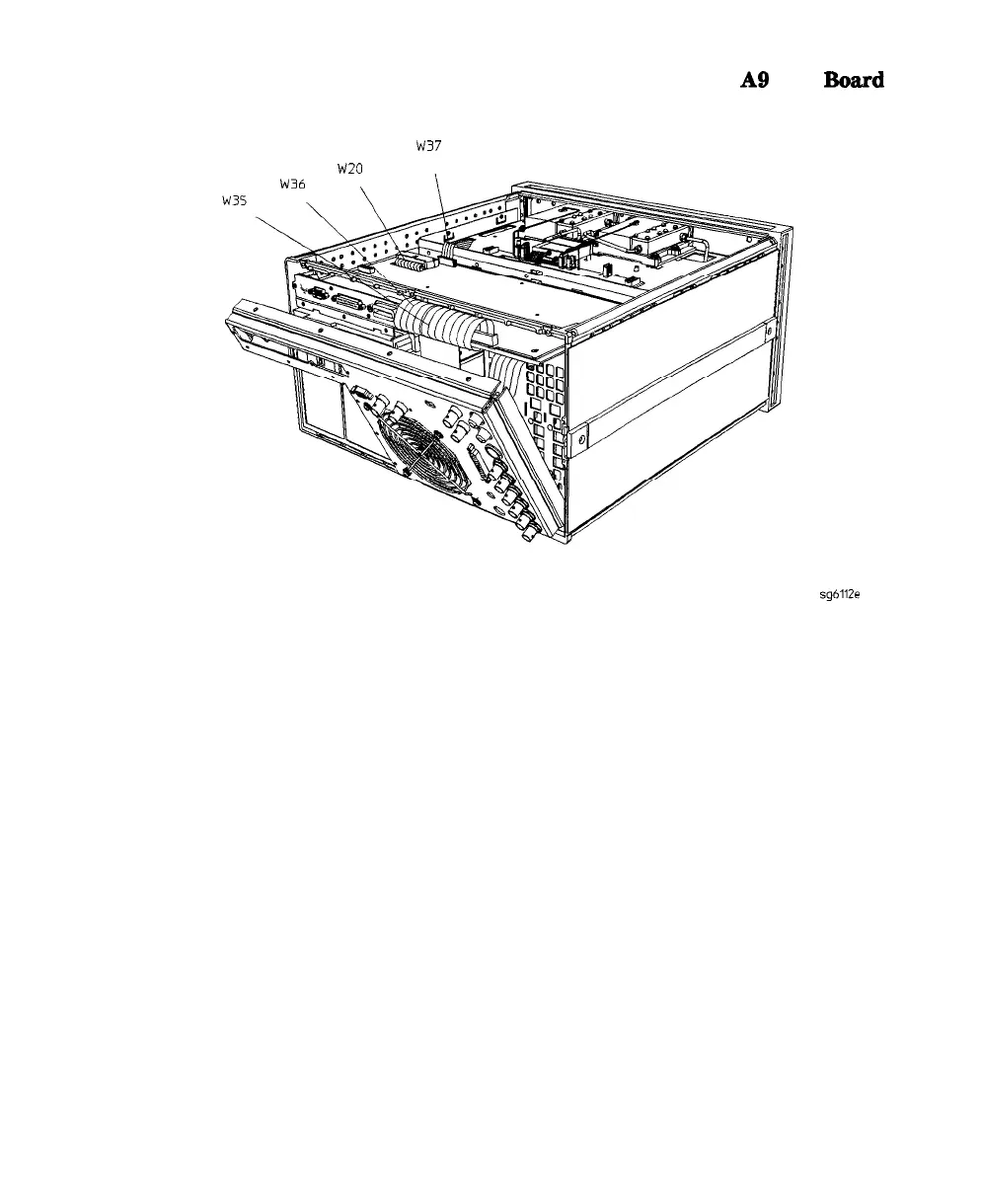
A9 CPU Board
w37
w20
\
sg6112e
Assembly Replacement and Post-Repair Procedures
14-33

Table of Contents

Other manuals for HP 8753E

Related product manuals