EasyManua.ls Logo

HP 8753E - Page 550

HP 8753E
612 pages
Print Icon
To Next Page IconTo Next Page
To Next Page IconTo Next Page
To Previous Page IconTo Previous Page
To Previous Page IconTo Previous Page
Loading...
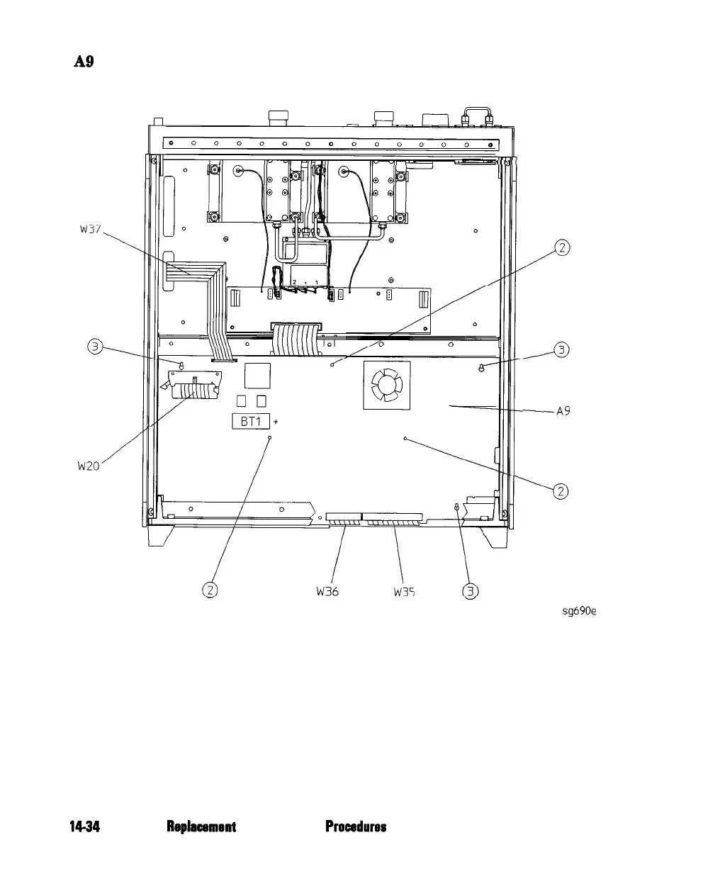
A9
CPU Board
I,”
VII
-
c
-
-A9
sg690e
14-34 Assembly Replasemeat and Post-Repair Procedures

Table of Contents

Other manuals for HP 8753E

Related product manuals