EasyManua.ls Logo

HP 8753E - Page 556

HP 8753E
612 pages
Print Icon
To Next Page IconTo Next Page
To Next Page IconTo Next Page
To Previous Page IconTo Previous Page
To Previous Page IconTo Previous Page
Loading...
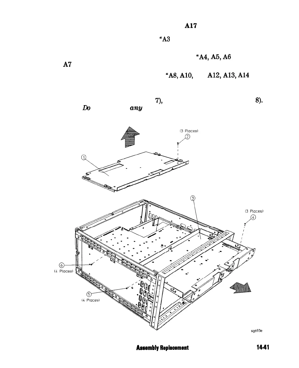
Al7
Motherboard Assembly
9. Remove the source assembly (refer to
“A3
Source Assembly” in this
chapter).
10. Remove the samplers and pulse generator (refer to
“A4, A5, A6 Samplers
and A7 Pulse Generator” in this chapter).
11. Remove the card cage boards (refer to
“A&
AlO,
All,
A12,
A13,
Al4
Card Cage Boards” in this chapter). Continue with step 12 to remove the
motherboard, or step 13 to remove the motherboard/card cage assembly.
12. To disconnect the motherboard (item
7),
remove the 34 riv screws (item
8).
Important:
Do
not misplace
ang
of these screws.
v
sg693e
Assembly Replawmeat and Post-Repair Procedures
14-41

Table of Contents

Other manuals for HP 8753E

Related product manuals