EasyManua.ls Logo

HP 8753E - Page 558

HP 8753E
612 pages
Print Icon
To Next Page IconTo Next Page
To Next Page IconTo Next Page
To Previous Page IconTo Previous Page
To Previous Page IconTo Previous Page
Loading...
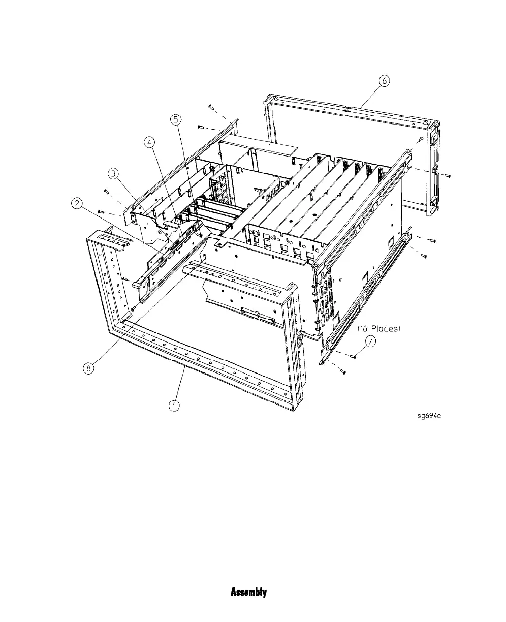
A 17 Motherboard Assembly
Replacement
1. Reverse the order of the removal procedure.
Aswmbly Replacement and Past-Repair Procedures
1443

Table of Contents

Other manuals for HP 8753E

Related product manuals