EasyManua.ls Logo

Korg Krome - Page 355

Korg Krome
380 pages
To Next Page IconTo Next Page
To Next Page IconTo Next Page
To Previous Page IconTo Previous Page
To Previous Page IconTo Previous Page
Loading...
Dynamic Modulation Sources (Dmod)
347
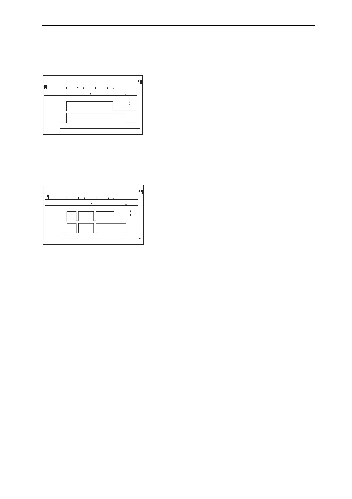
Gate1, Gate1+Dmpr (Gate1, Gate1+Damper)
The effect is at maximum during noteon, and will stop
when all keys are released. With Gate1 + Damper, the effect
will remain at maximum even after the keys are released, as
long as the damper (sustain) pedal is pressed.
Gate2, Gate2+Dmpr (Gate2, Gate2+Damper)
This is essentially the same as for Gate 1 or Gate 1 + Dmpr.
However when Gate 2 or Gate 2 + Damper are used as a
dynamic modulation source for the EG of 041: St. Env.
Flanger etc. or the AUTOFADE of 049: Stereo Vibrato, a
trigger will occur at each noteon. (In the case of Gate 1 and
Gate 1 + Dmpr, the trigger occurs only for the first noteon.)
Exp Velocity (Exponential Velocity)
Modulation will be applied exponentially according to the
velocity value. Weak velocity values will produce little
effect, but the effect will increase rapidly as the velocity
values rise.
Pedal: #04 (Foot Pedal: CC#04)
If you wish to use the assignable foot pedal as a dynamic
modulation source, set Foot Pedal Assign (Global P2:
Controller 2–1a) to Foot Pedal (CC#04). ( See “Foot Pedal
Assignments” on page 350.)
A foot controller etc. connected to the ASSIGNABLE PEDAL
jack can be used to control an effect.
KnobM1:#17 (Knob Modulation1: CC#17)
KnobM2:#19 (Knob Modulation2: CC#19)
KnobM3:#20 (Knob Modulation3: CC#20)
KnobM4:#21 (Knob Modulation4: CC#21)
If you want to use knobs 1–4 as a dynamic modulation
source when the Realtime Controls is USER, use the
Controllers Setup page Realtime Controls Knob Assign
parameter to assign Knob USER 1 to Knob Mod.1 (CC#17),
Knob USER 2to Knob Mod.2 (CC#19), Knob USER 3 to
Knob Mod.3 (CC#20), and Knob USER 4 to Knob Mod.4
(CC#21) for each program, combination, or song. (See
“Realtime Controls Knobs 1–4 Assignments” on page 348.)
Then put the
Realtime Controls in USER, and you can use
knobs 1–4 to control the effects.
If the knob is set to the 12 o'clock position, the resulting
effect as a dynamic modulation source will be zero. If the
Amount is a positive (+) value, rotating the knob toward the
right will apply positive change, and rotating it toward the
left it will produce negative change. (With negative values,
the result will be the opposite.)
KnobM1 [+] (Knob Modulation1 [+])
KnobM2 [+] (Knob Modulation2 [+])
KnobM3 [+] (Knob Modulation3 [+])
KnobM4 [+] (Knob Modulation4 [+])
The knob position and the direction of the resulting change
are different than Knob Mod.1 (CC#17)–Knob Mod.4
(CC#21). If Amount is set to a positive (+) value, rotating the
knob to the far left all the way wil produce an effect of 0 as
the dynamic modulation source all the way will apply
change only in the positive direction. (If the Amount is set to
a negative value, the result will be the opposite.)
SW 1: #80 (Switch Modulation 1: CC#80)
SW 2: #81 (Switch Modulation 2: CC#81)
If you wish to use the SW1 or SW2 switch as a dynamic
modulation source, make settings in Program, or Song to set
the Controllers Setup page parameter Panel Switch Assign
to the following values respectively: SW1 to SW1 Mod.
(CC#80), or SW2 to SW2 Mod. (CC#81) ( See “SW1/2
Assignments” on page 348.).
The effect will be controlled when you operate the SW1 or
SW2 switch.
FootSW: #82 (Foot Switch: CC#82)
If you wish to use an assignable foot switch as a dynamic
modulation source, set Foot Switch Assign (Global 2–1a) to
Foot Switch (CC#82) ( See “Foot Switch Assignments” on
page 349.).
The effect will be controlled when you operate a foot switch
etc. connected to the ASSIGNABLE SWITCH jack.
Tempo
The resulting modulation will be zero at 120 BPM, the
maximum positive value at 240 BPM, and the maximum
negative value at 60 BPM.
Gate1,Gate1+Dmpr
Gate1
Note
Dmpr
1
2
3
1
2
3
Damper Pedal
Gate1+Dmpr
Time
On
O
Gate2,Gate2+Dmpr
Gate2
Note
Dmpr
1
2
3
1
2
3
Damper Pedal
Gate2+Dmpr
Time
On
O

Table of Contents

Other manuals for Korg Krome

Related product manuals