EasyManua.ls Logo

Polaris RZR XP - Oil Flow Chart

Polaris RZR XP
564 pages
Print Icon
To Next Page IconTo Next Page
To Next Page IconTo Next Page
To Previous Page IconTo Previous Page
To Previous Page IconTo Previous Page
Loading...
3.6
9929419 R02 - 2018-2019 RZR XP / XP 4 Turbo S Service Manual
© Copyright Polaris Industries Inc.
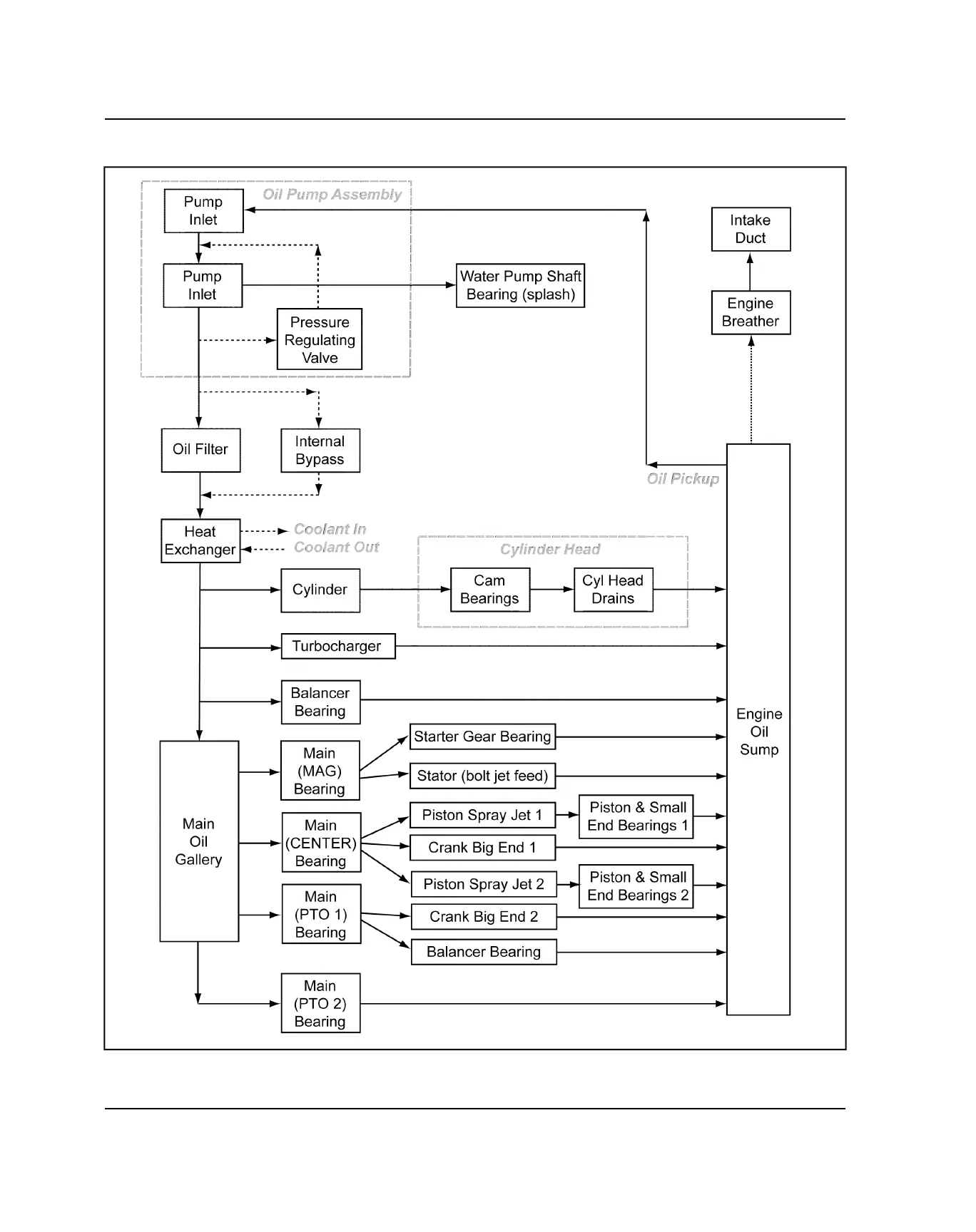
OIL FLOW CHART
ENGINE / COOLING SYSTEM

Table of Contents

Related product manuals