EasyManua.ls Logo

Ricoh D065 - Page 126

Ricoh D065
1351 pages
Print Icon
To Next Page IconTo Next Page
To Next Page IconTo Next Page
To Previous Page IconTo Previous Page
To Previous Page IconTo Previous Page
Loading...
Cover Interposer Tray (B704)
D062/D063/D065/D066 2-78 SM
Docking the Finisher and Interposer to the Machine (D373/D374/D460)
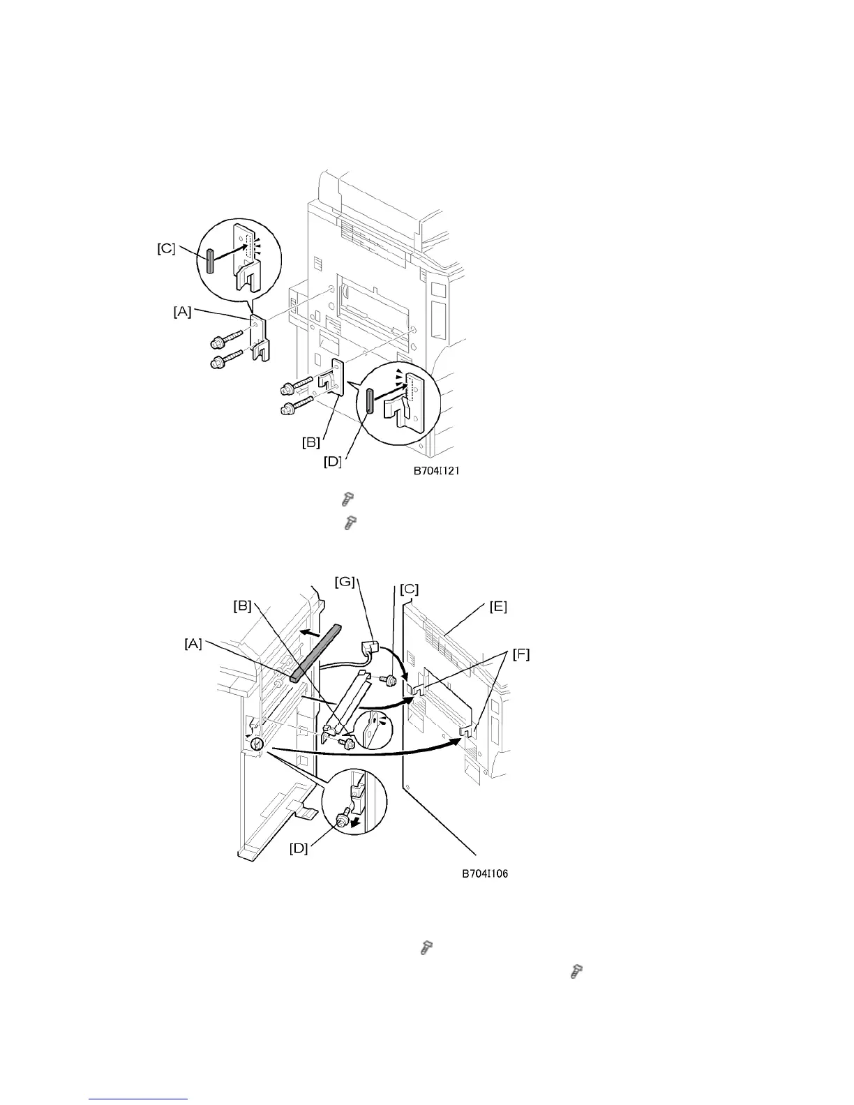
1. Attach the rear bracket [A] (
x 2, M4 x14).
2. Attach the front bracket [B] (
x 2, M4 x14).
3. Attach the gasket seals [C] and [D].
4. Attach the sponge strip [A] that is supplied with the finisher.
5. Attach the guide plate (removed from the finisher) to the cover interposer.
Attach the front end [B] of the plate (
x 1).
Attach the rear end of the plate with the anti-static brush [C] (
x 1).

Table of Contents

Related product manuals