EasyManua.ls Logo

Ricoh D065 - Page 134

Ricoh D065
1351 pages
Print Icon
To Next Page IconTo Next Page
To Next Page IconTo Next Page
To Previous Page IconTo Previous Page
To Previous Page IconTo Previous Page
Loading...
Mail Box (B762)
D062/D063/D065/D066 2-86 SM
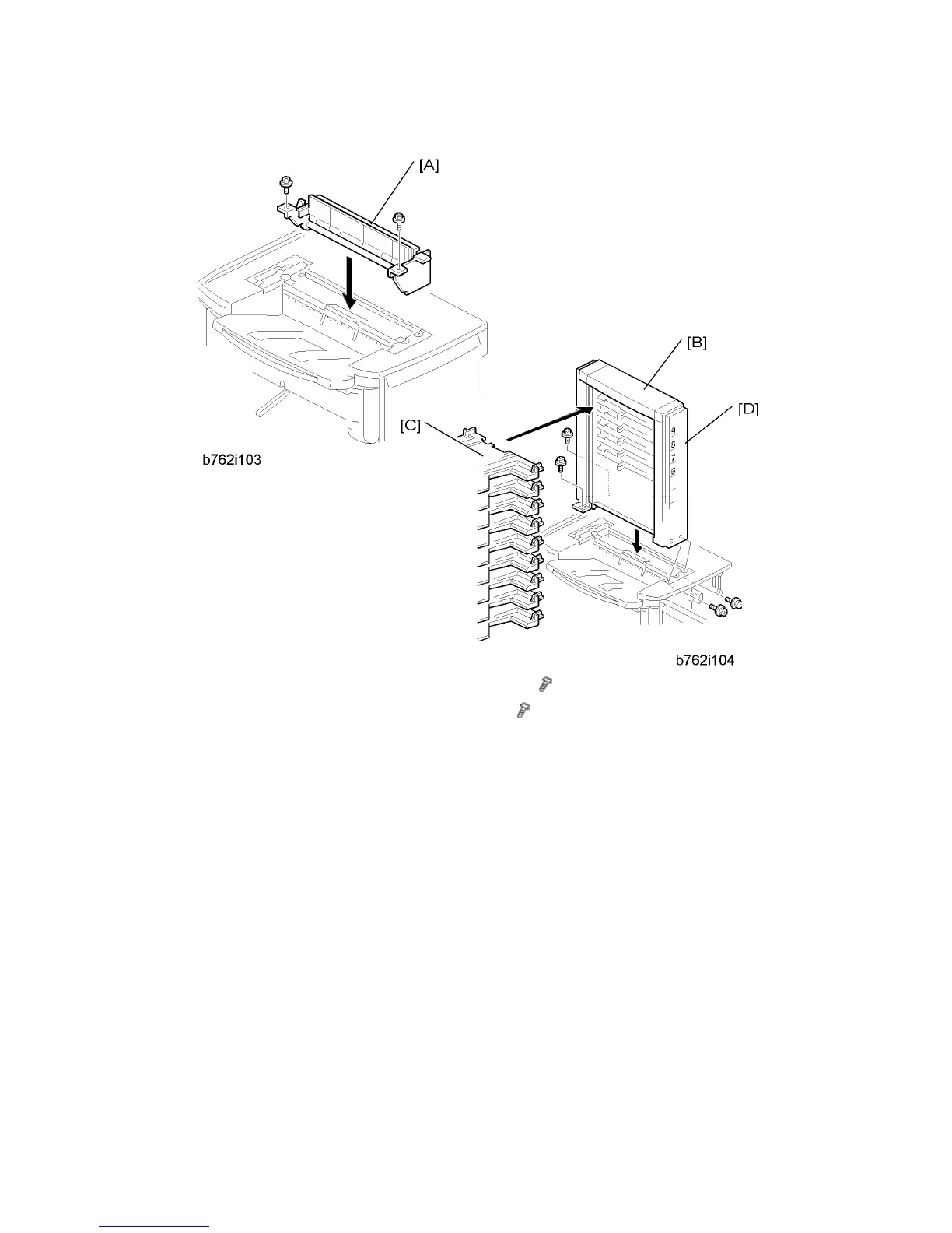
5. Attach the guide plate [A] to the top of the finisher ( x 2, M3x8).
6. Attach the mailbox [B] to the top of the finisher (
x 4, M3x8).
7. Attach the 9 trays [C] to the mailbox.
8. Give the decals [D] to the customer for notation and attaching at the correct location.

Table of Contents

Related product manuals