EasyManua.ls Logo

Ricoh D065 - Page 277

Ricoh D065
1351 pages
Print Icon
To Next Page IconTo Next Page
To Next Page IconTo Next Page
To Previous Page IconTo Previous Page
To Previous Page IconTo Previous Page
Loading...
Paper Feed
D062/D063/D065/D066 4-90 SM
10. Re-install the DC motor cover and the tray cover.
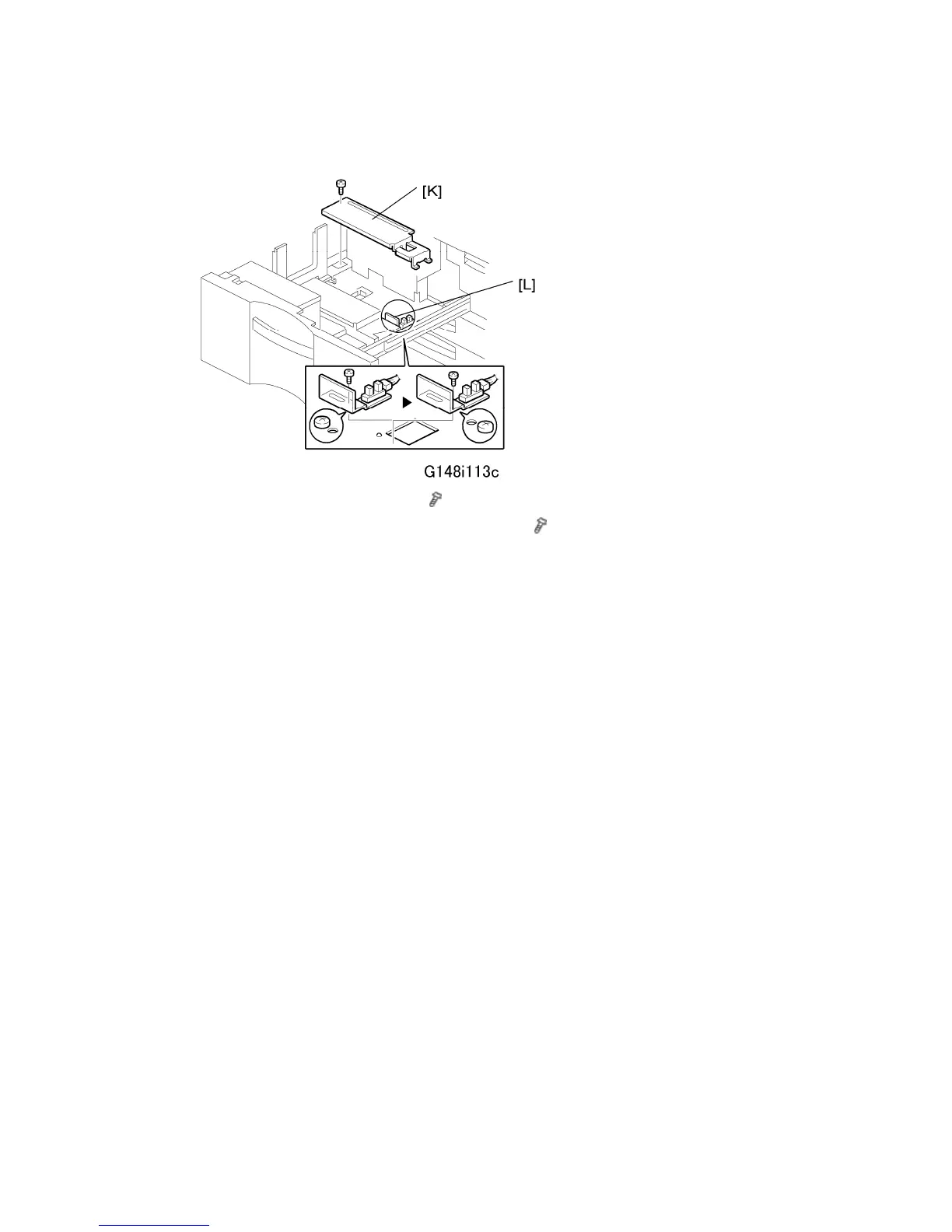
11. Remove the rear bottom plate [K] ( x 1).
12. Re-position the return position sensor bracket [L] (
x 1).
To use the paper tray for A4 size, set the screw in the left hole as shown. (For LT size,
the screw should be placed on the right.)
13. Reinstall the rear bottom plate.
14. Input the new paper size into SP5959-001 (Paper Size – Tray 1).
15. Do the printer adjustments. See "Print Image Adjustment" at the end of this section.

Table of Contents

Related product manuals