EasyManua.ls Logo

Ricoh D065 - Page 77

Ricoh D065
1351 pages
Print Icon
To Next Page IconTo Next Page
To Next Page IconTo Next Page
To Previous Page IconTo Previous Page
To Previous Page IconTo Previous Page
Loading...
LCT (B473)
SM 2-29 D062/D063/D065/D066
Installation
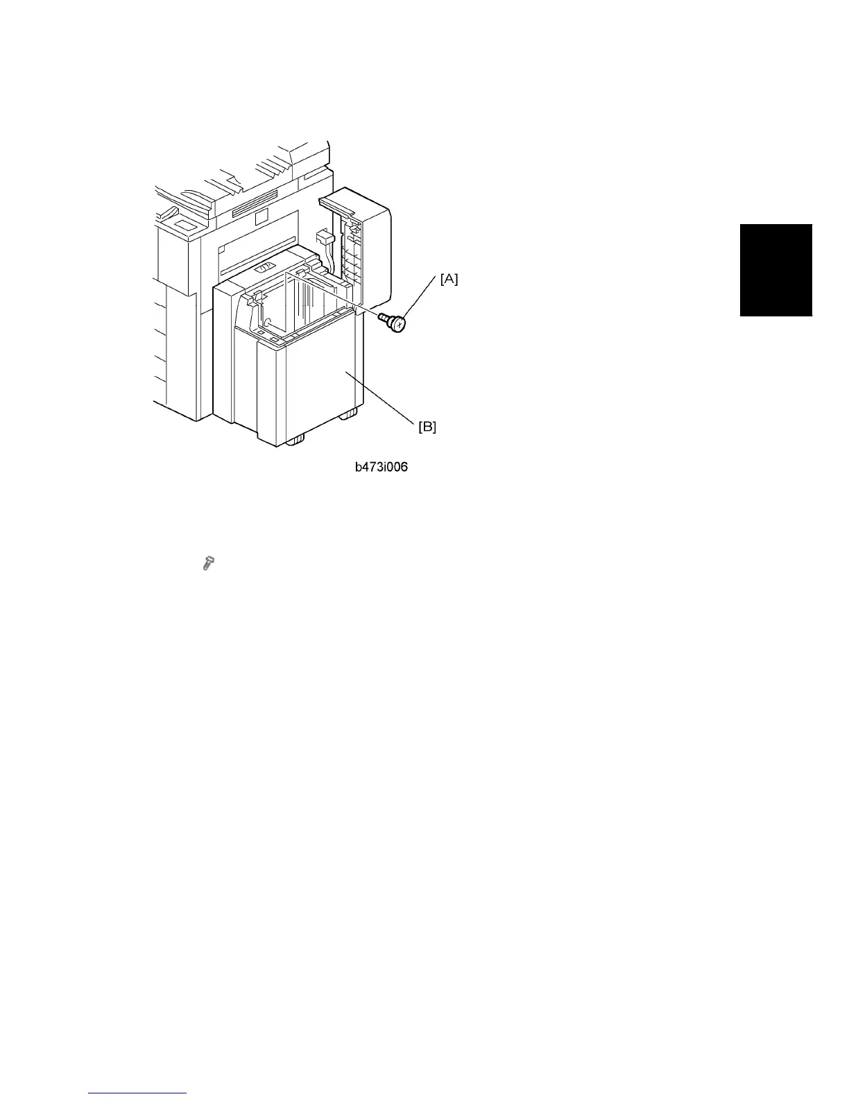
1. Insert the flat-head shoulder screw [A] into the hole and fasten it to lock the release
lever in place.
For easier access to the hole for the screw [A], you can remove the right panel [B]
(
x 2).
2. Switch the machine on and execute SP5959 005 (Paper Size – Tray 4 (LCT)) to select
the paper size. For details, see SP5959 in “Service Tables.”

Table of Contents

Related product manuals