EasyManua.ls Logo

Ricoh D065 - Page 92

Ricoh D065
1351 pages
Print Icon
To Next Page IconTo Next Page
To Next Page IconTo Next Page
To Previous Page IconTo Previous Page
To Previous Page IconTo Previous Page
Loading...
3000-Sheet Finisher (D460)
D062/D063/D065/D066 2-44 SM
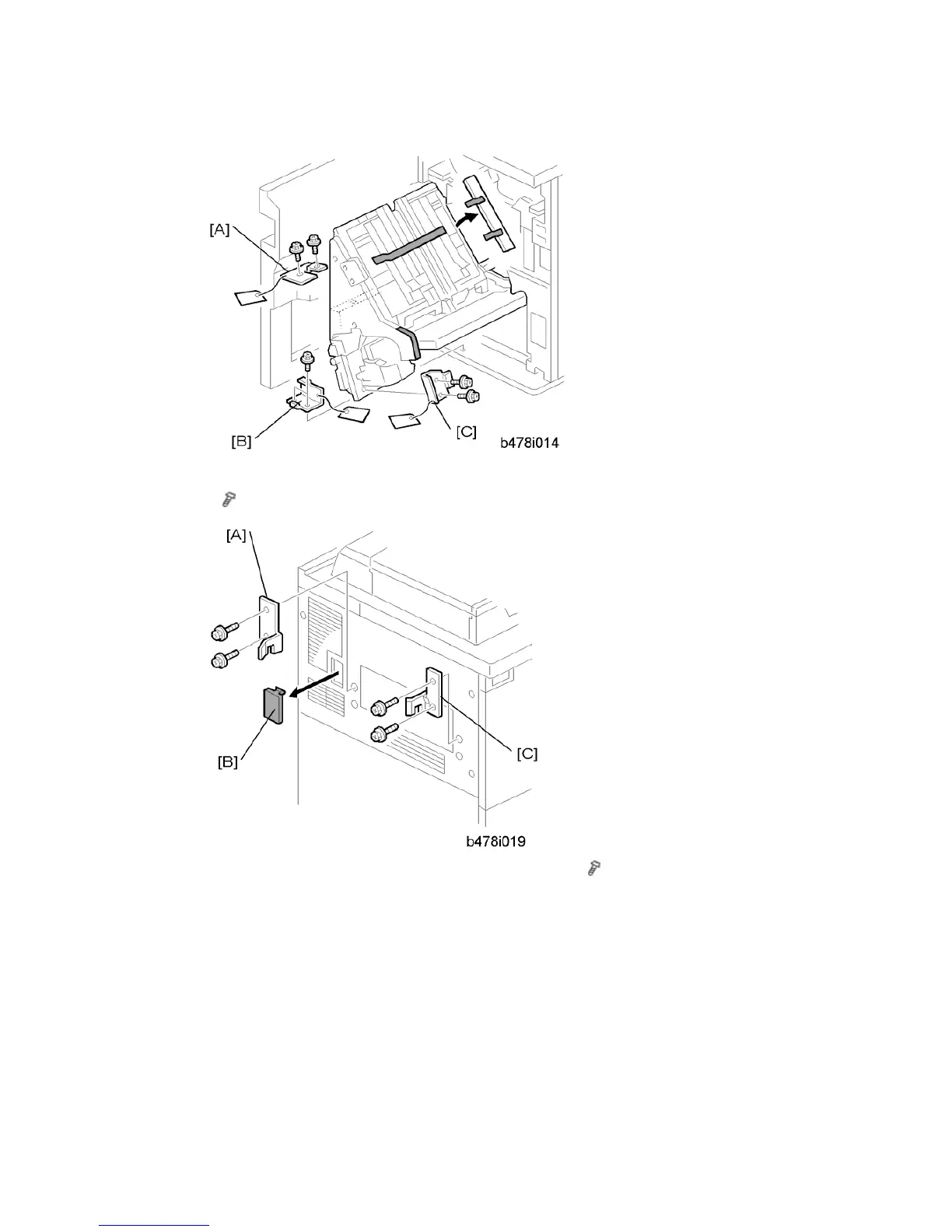
2. Open the front door and remove the shipping retainers. Remove brackets [A], [B], and
[C] (
x 2 each).
3. Install the front rear bracket [A] and front joint bracket [B] (
x 2 each) (M4 x 14) on
the left side of the copier.
4. Remove the connector cover [C].

Table of Contents

Related product manuals