EasyManua.ls Logo

Ricoh K-C3 - Page 18

Ricoh K-C3
289 pages
Print Icon
To Next Page IconTo Next Page
To Next Page IconTo Next Page
To Previous Page IconTo Previous Page
To Previous Page IconTo Previous Page
Loading...
B245/B276/B277/B268/B269 Service Manual 18-Jan-06
9
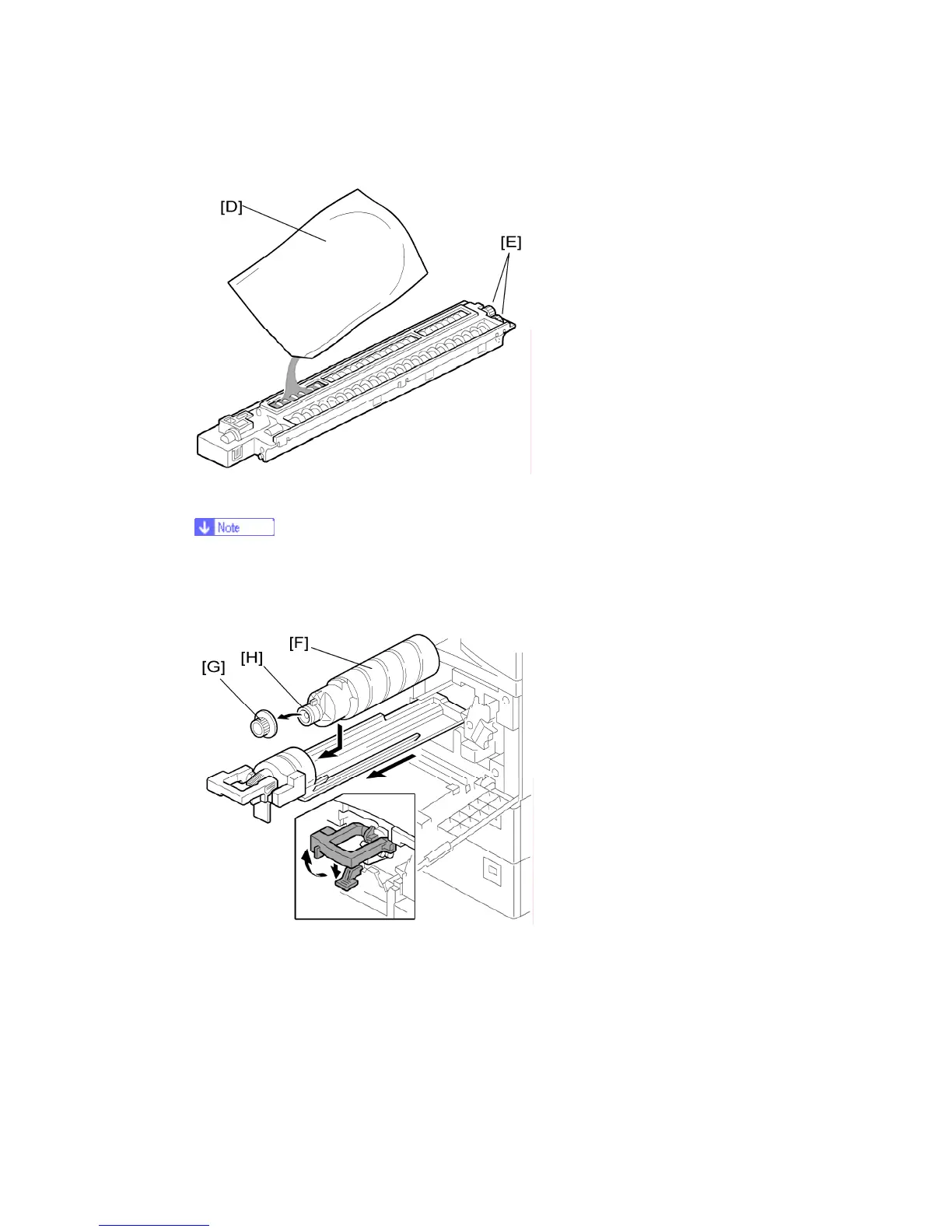
This prevents foreign material from getting on the sleeve rollers
6. Distribute a pack of developer [D] to all openings equally.
Do not spill the developer on the gears [E]. If you have spilled it, remove the
developer by using a magnet or magnetized screwdriver.
Do not turn the gear [E] too much. The developer may spill.
7. Reassemble the PCU and reinstall it.
8. Shake the toner bottle [F] several times. (Do not remove the bottle cap [G] before
you shake the bottle.)
9. Remove the bottle cap [G] and install the bottle on the holder. (Do not touch the
inner cap [H].)
10. Set the holder (with the toner bottle) in the machine.

Table of Contents

Related product manuals