EasyManua.ls Logo

Ricoh K-C3 - Maintenance Procedures; Preventive Maintenance Tables

Ricoh K-C3
289 pages
Print Icon
To Next Page IconTo Next Page
To Next Page IconTo Next Page
To Previous Page IconTo Previous Page
To Previous Page IconTo Previous Page
Loading...
B245/B276/B277/B268/B269 Service Manual 18-Jan-06
37
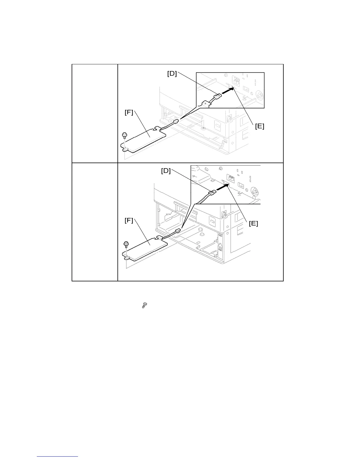
One-tray paper
feed unit:
Two-tray paper
feed unit:
4. Pass the connector [D] through the opening [E].
5. Install the tray heater [F] (
x 1)

Table of Contents

Related product manuals