EasyManua.ls Logo

Ricoh K-C3 - Page 47

Ricoh K-C3
289 pages
Print Icon
To Next Page IconTo Next Page
To Next Page IconTo Next Page
To Previous Page IconTo Previous Page
To Previous Page IconTo Previous Page
Loading...
B245/B276/B277/B268/B269 Service Manual 18-Jan-06
38
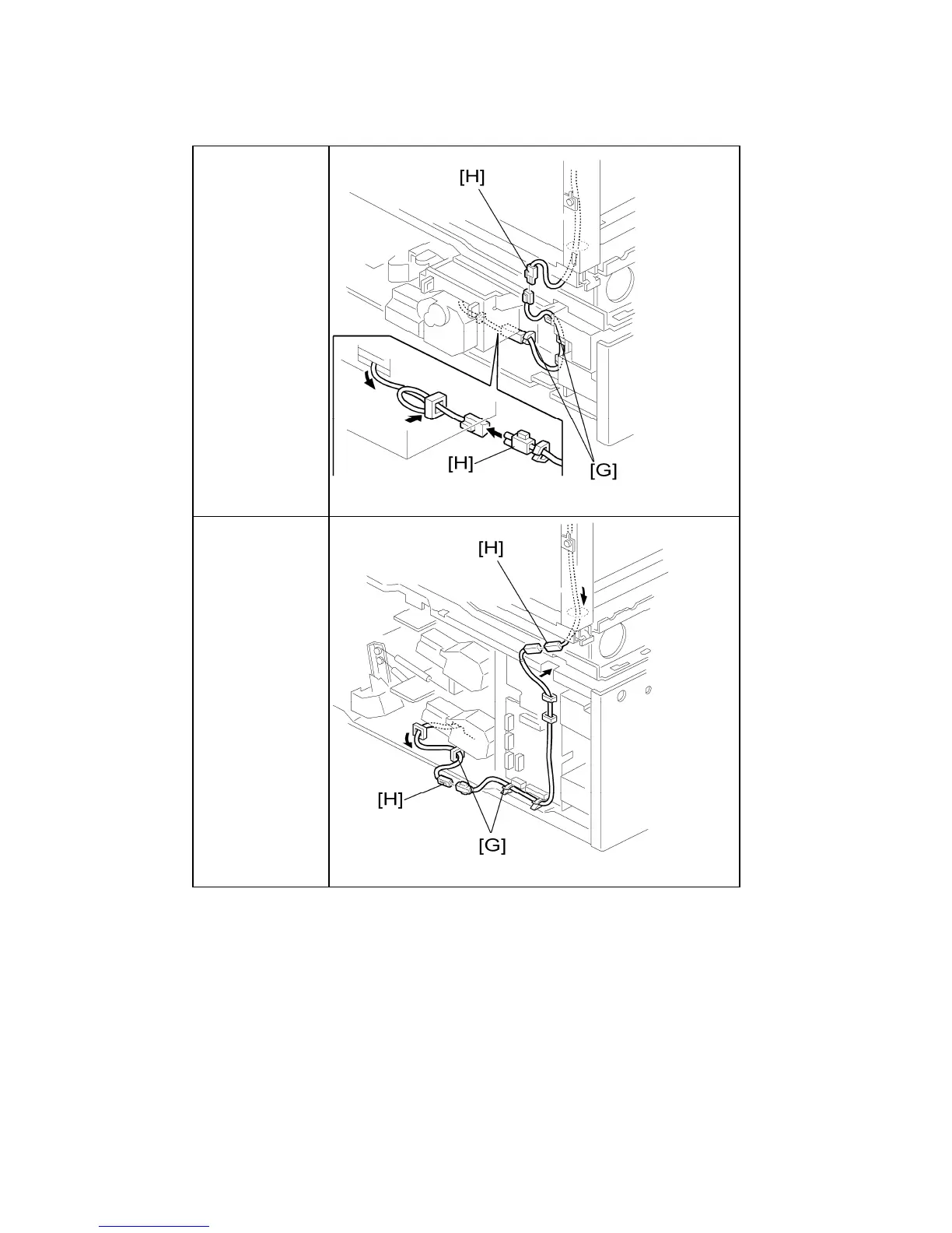
One-tray paper
feed unit:
Two-tray paper
feed unit:
6. Clamp the cables [G], as shown.
7. Join the connectors [H].
8. Two-tray unit only: Reinstall the cable guide.
9. One-tray copier model (B268/B276): Remove the 1st tray cassette.
Two-tray copier models (B269/B277): Remove the 2nd tray cassette.

Table of Contents

Related product manuals