EasyManua.ls Logo

SYSMEX XP Series - Page 46

SYSMEX XP Series
290 pages
Print Icon
To Next Page IconTo Next Page
To Next Page IconTo Next Page
To Previous Page IconTo Previous Page
To Previous Page IconTo Previous Page
Loading...
5-8 Sysmex XP-300
Initial Operation
January 2012
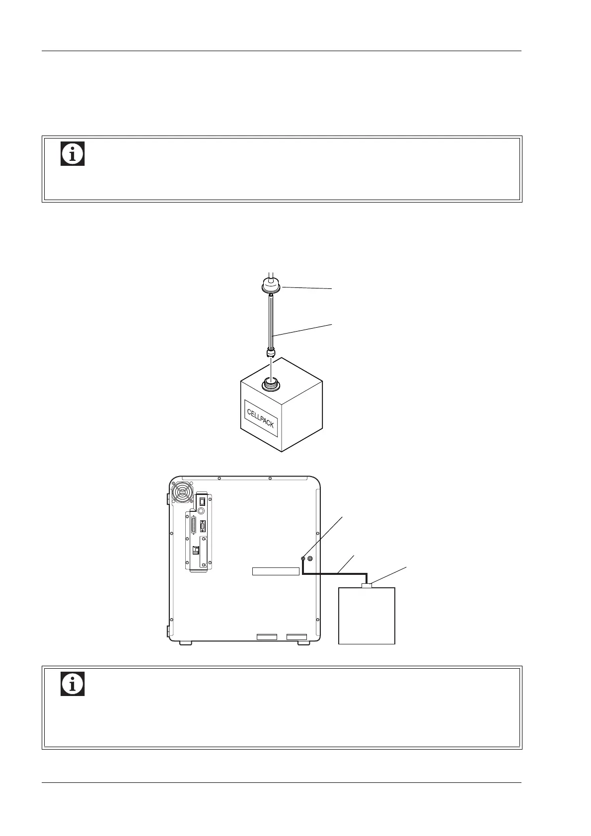
Connect CELLPACK
(1) Prepare the following reagent tube.
Tube Polyurethane 4 mm ID × 6 mm OD ....... 1 pc
(2) Connect CELLPACK inlet aspiration nipple behind the unit and the nipple of the cubitainer
spout kit No. 1 with the tube polyurethane.
(3) Set the cubitainer spout kit No. 1 to the CELLPACK container.
Information
Cut the tube to an appropriate length, and connect it. When the diluent (CELLPACK) tube is
more than 2 m long, it may be impossible to have reagent aspirated.
Cap
Cubitainer spout kit No. 1
Tube polyurethane 4 mm ID × 6 mm OD
Cubitainer spout kit No. 1
CELLPACK inlet nipple
CELLPACK
Information
Avoid setting the diluent (CELLPACK) at a level higher than the instrument. Otherwise, the
reagent may flow into the vacuum line, possibly damaging the instrument.
After connecting the tube, do not pull it by force for reagent replacement.

Table of Contents

Related product manuals