EasyManua.ls Logo

Belarus 82.3 - ANNEX А (Compulsory) - HSC Hydraulic Circuit Diagram

Belarus 82.3
254 pages
Print Icon
To Next Page IconTo Next Page
To Next Page IconTo Next Page
To Previous Page IconTo Previous Page
To Previous Page IconTo Previous Page
Loading...
82.3-0000010 OM
249
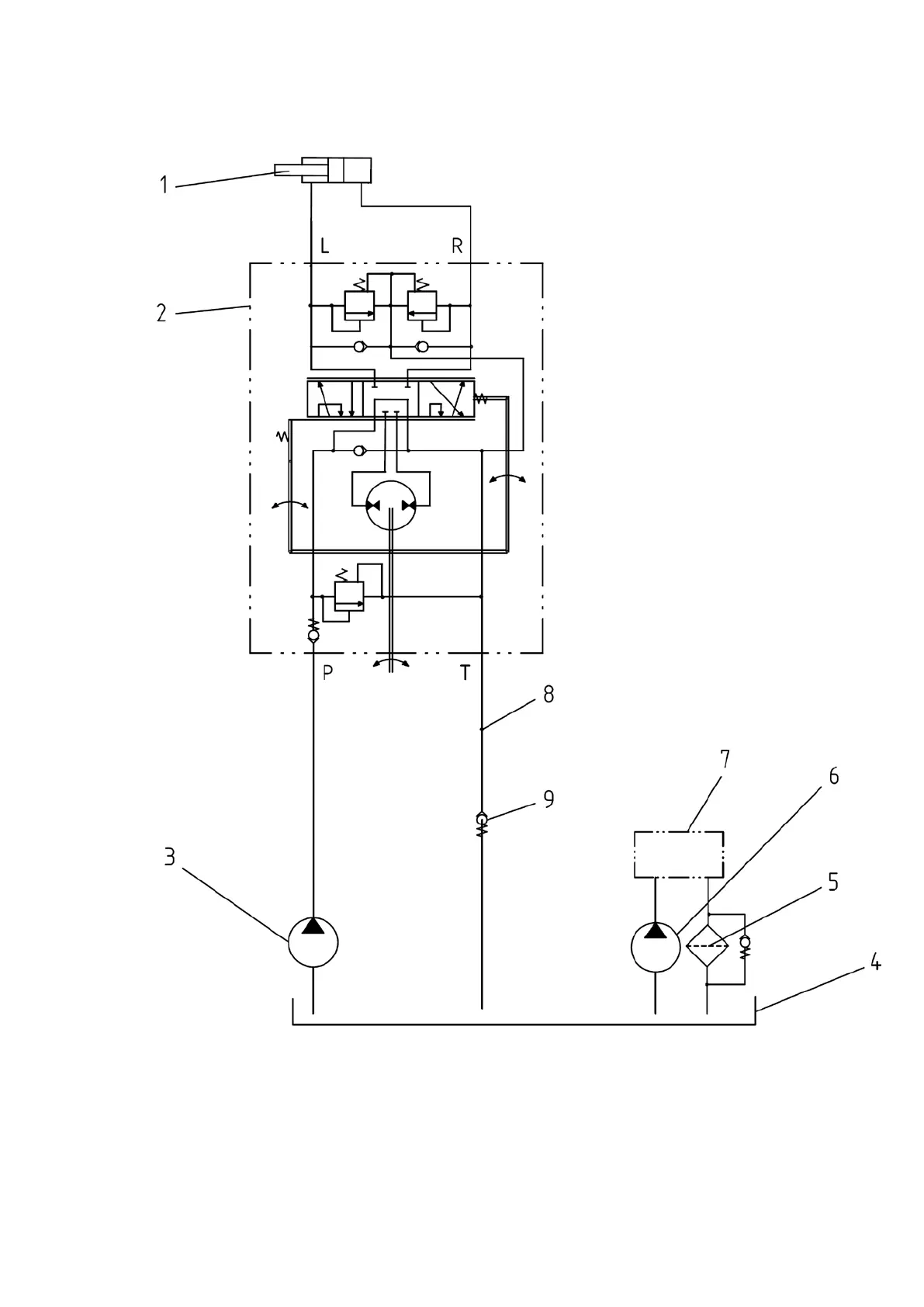
ANNEX А
(compulsory)
HSC hydraulic circuit diagram
1 hydraulic cylinder; 2 dosing pump; 3 HSC feed pump; 4 oil tank for HLL
and HSC; 5 filter; 6 HLL pump; 7 - hydraulic lift linkage (HLL); 8 pressure sensor; 9
valve.
Figure А1 HSC hydraulic circuit diagram
Note conjoint oil tank for HSC and HLL.

Table of Contents

Related product manuals