EasyManua.ls Logo

Belarus 82.3 - Page 251

Belarus 82.3
254 pages
Print Icon
To Next Page IconTo Next Page
To Next Page IconTo Next Page
To Previous Page IconTo Previous Page
To Previous Page IconTo Previous Page
Loading...
82.3-0000010 OM
251
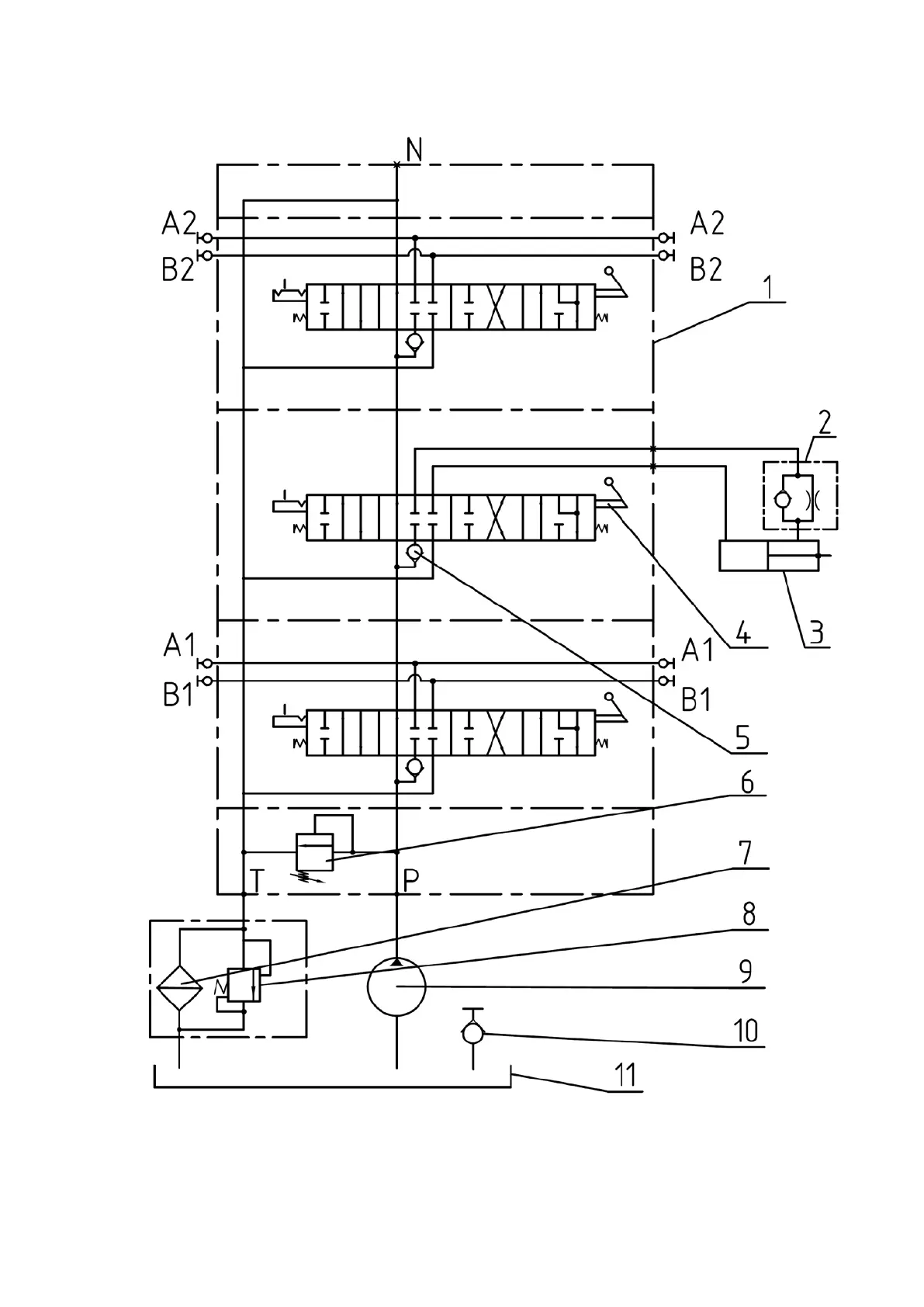
The hydraulic circuit diagram for the HLL without draft control is presented in figure
B2.
1 distributor RP70-890.1; 2 retarding valve; 3 cylinder; 4 spool; 5 back-
flow valve; 6 safety valve; 7 hydraulics filter; 8 filter valve; 9 pump; 10 rear free
drain; 11 tank.
Figure B2 – Hydraulic circuit diagram for the HLL without draft control

Table of Contents

Related product manuals