EasyManua.ls Logo

Gamatronic power+ sa - Battery Management

Gamatronic power+ sa
174 pages
Print Icon
To Next Page IconTo Next Page
To Next Page IconTo Next Page
To Previous Page IconTo Previous Page
To Previous Page IconTo Previous Page
Loading...
GAMATRONIC ELECTRONIC INDUSTRIES LTD.
54
POWER
+
SA: 20, 30, and 40 kVA, Release 2.1
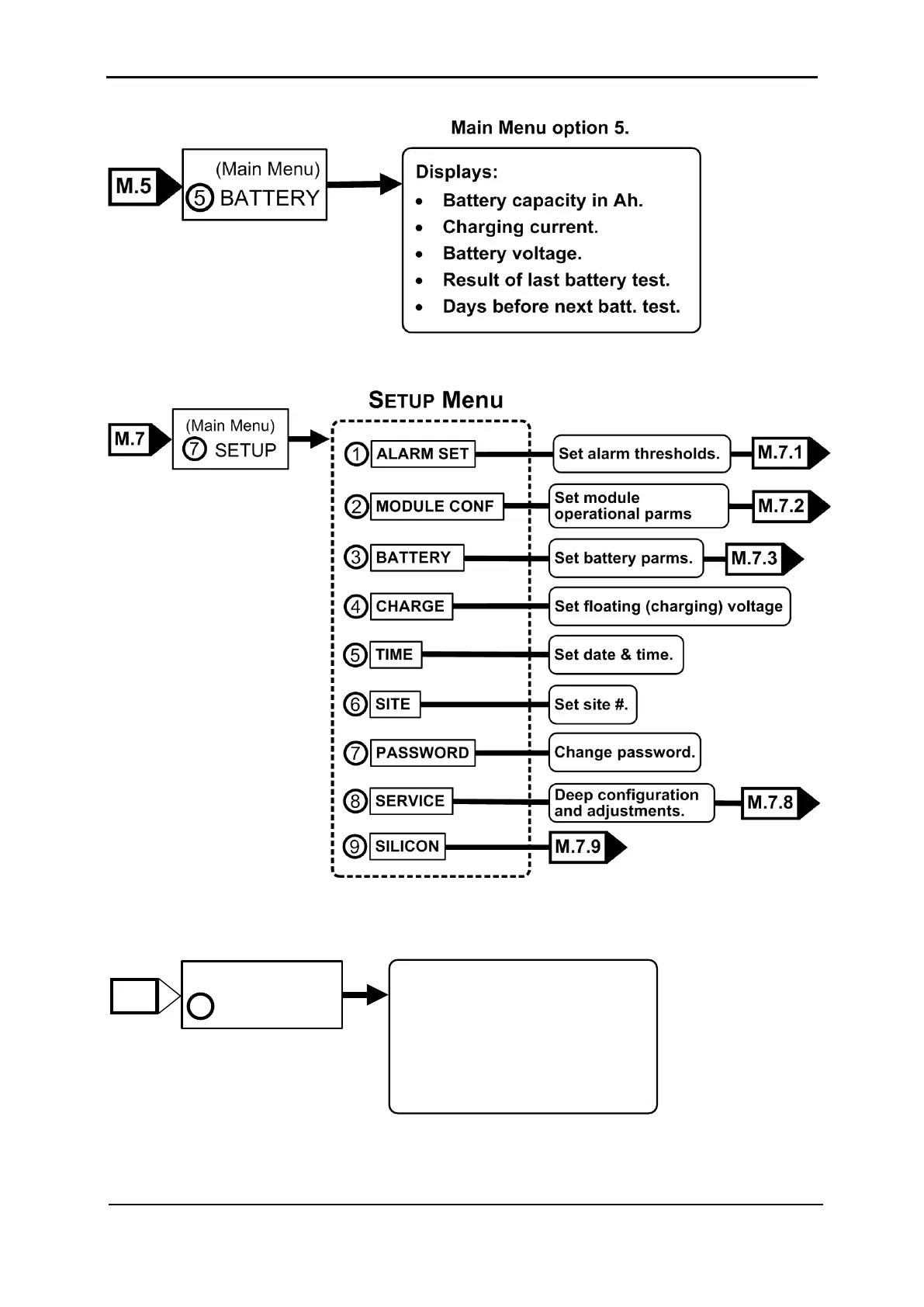
Figure 67: Battery menu
Figure 68: Setup menu
Inverter voltage.
Bypass voltage.
Output current.
Static switch status bytes.
(Main Menu)
STATIC SW.
8
Displays:
M.8
Main Menu option 8.
Figure 69: Static switch menu

Table of Contents

Related product manuals