EasyManua.ls Logo

Gamatronic power+ sa - Alarm Status

Gamatronic power+ sa
174 pages
Print Icon
To Next Page IconTo Next Page
To Next Page IconTo Next Page
To Previous Page IconTo Previous Page
To Previous Page IconTo Previous Page
Loading...
GAMATRONIC ELECTRONIC INDUSTRIES LTD.
POWER
+
SA: 20, 30 and 40 kVA, Release 2.1
57
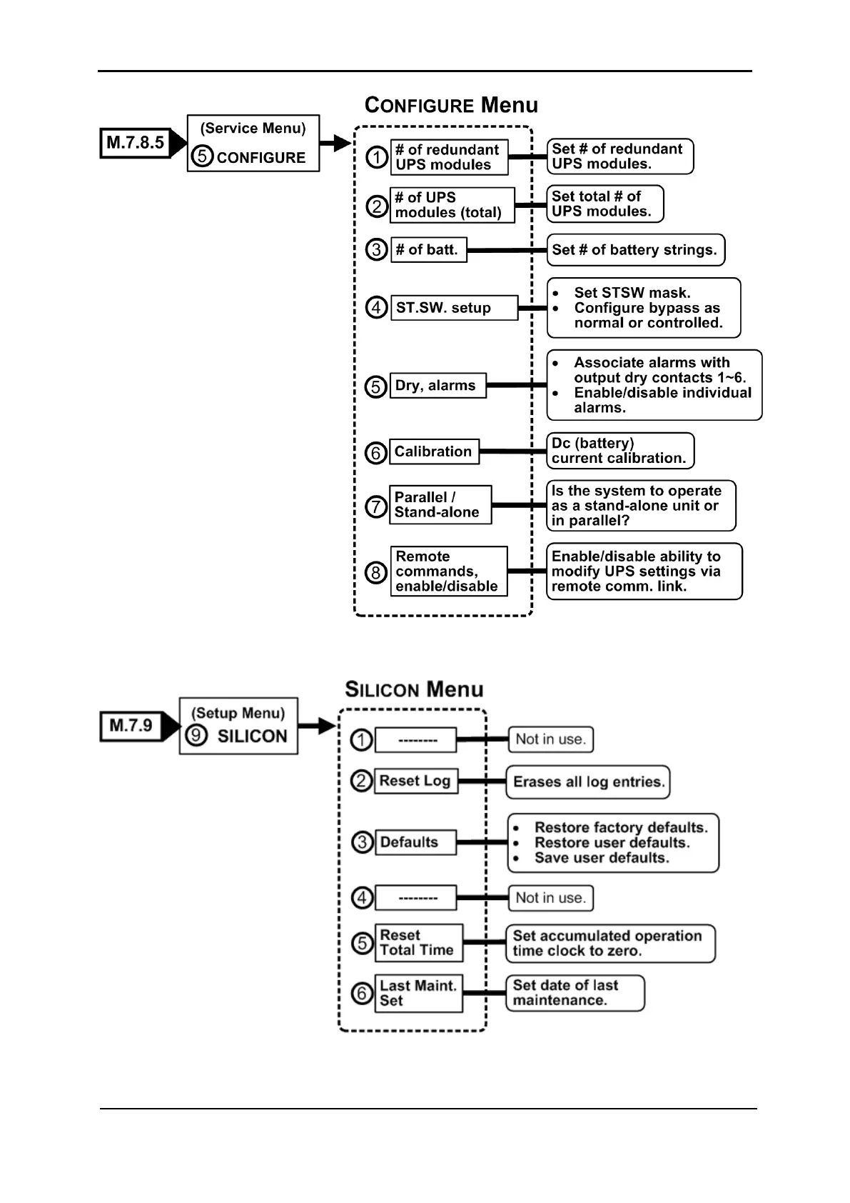
Figure 74: Configure sub-sub-menu
Figure 75: Silicon sub-menu

Table of Contents

Related product manuals