EasyManua.ls Logo

Gamatronic power+ sa - UPS Module Option; Figure 90: Main Menu Option 2 (UPS Module); Figure 91: LCD Panel - Select a UPS

Gamatronic power+ sa
174 pages
Print Icon
To Next Page IconTo Next Page
To Next Page IconTo Next Page
To Previous Page IconTo Previous Page
To Previous Page IconTo Previous Page
Loading...
GAMATRONIC ELECTRONIC INDUSTRIES LTD.
POWER
+
SA: 20, 30 and 40 kVA, Release 2.1
63
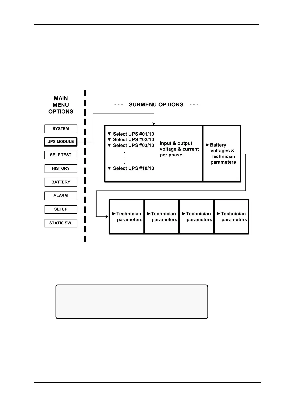
9.3 “UPS module” Option
To view voltage and current measurements and other information for each UPS module:
1. Use the ▼ and ▲ keys to scroll between UPS modules. The display shows the
voltage and current measurements for each module (see Figure 92 on page 64.
2. Scroll ► and ◄ keys to view additional information for the specific module chosen.
Figure 90: Main Menu option 2 (“UPS Module”)
1. The first screen to appear after selecting the UPS Module:
[Main Menu > UPS MODULE]
Next screens show data on all UPSs.
Use up, down arrow keys to select a UPS.
Use left, right arrow keys
to view different UPS parameters.
Figure 91: LCD Panel select a UPS

Table of Contents

Related product manuals